分享到微信

打开微信,点击底部的“发现”,
使用“扫一扫”即可将网页分享至朋友圈。

2022/01/24

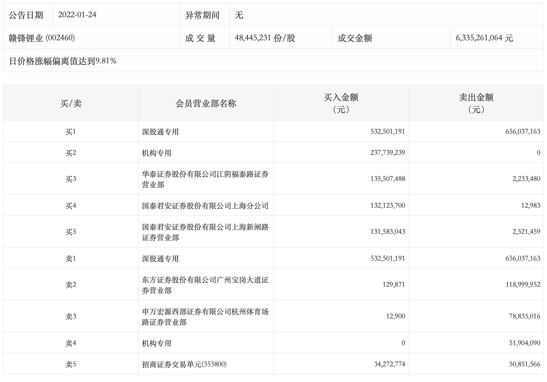
16:27【赣锋锂业今日涨停 一机构买入2.38亿元】赣锋锂业今日涨停,盘后数据显示,深股通买入5.33亿元并卖出6.56亿元,一机构买入2.38亿元,一机构卖出5190万元。

举报
点击关闭