分享到微信

打开微信,点击底部的“发现”,
使用“扫一扫”即可将网页分享至朋友圈。

2022/04/14

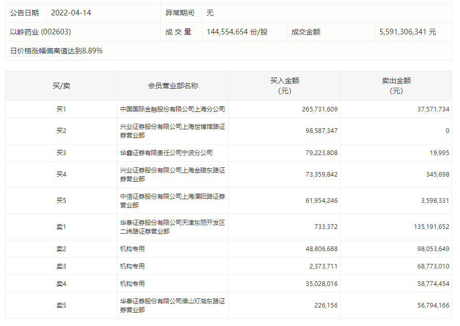
16:31【以岭药业再度涨停,机构高位抛售】以岭药业调整两日后再度涨停。盘后交易数据显示,三机构合计净卖出1.39亿元,中金公司上海分公司买入2.66亿元并卖出3757万元。

举报
点击关闭