分享到微信

打开微信,点击底部的“发现”,
使用“扫一扫”即可将网页分享至朋友圈。

2022/11/16

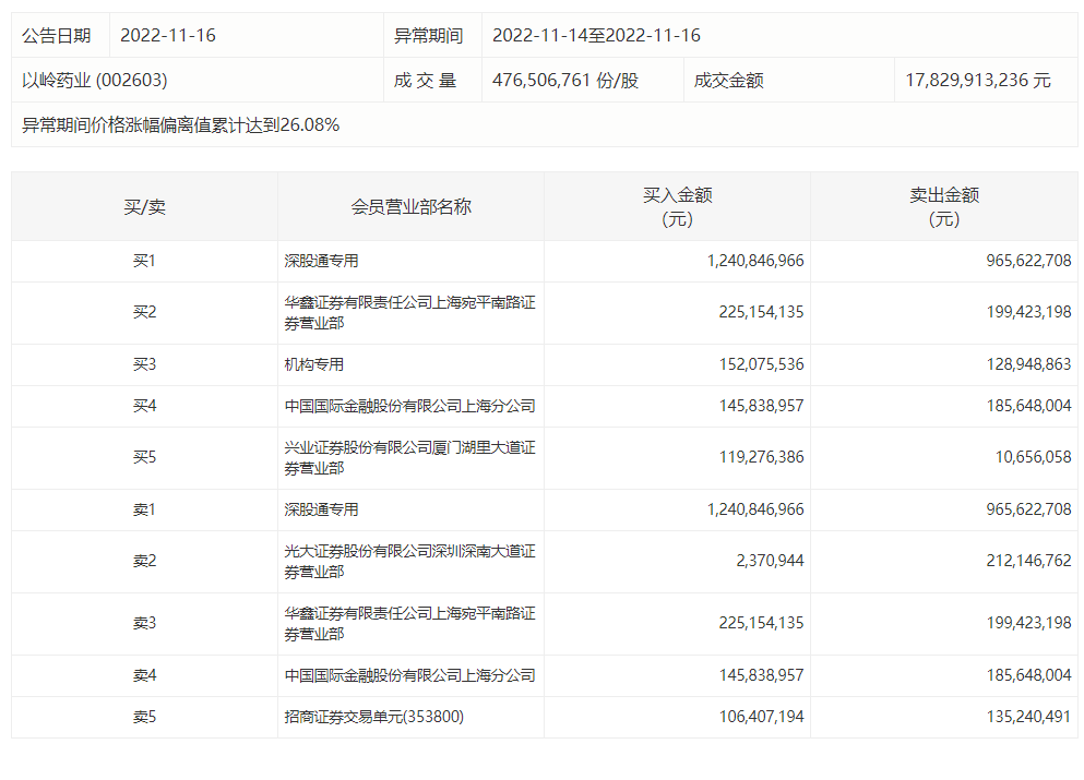
16:37【以岭药业三日内累涨27% 深股通净买入2.73亿元】以岭药业三日内累涨27%,今日成交额178.30亿元。盘后龙虎榜数据显示,深股通买入12.4亿元并卖出9.67亿元,机构买入1.52亿元并卖出1.29亿元。

举报
点击关闭