分享到微信

打开微信,点击底部的“发现”,
使用“扫一扫”即可将网页分享至朋友圈。

2023/02/01

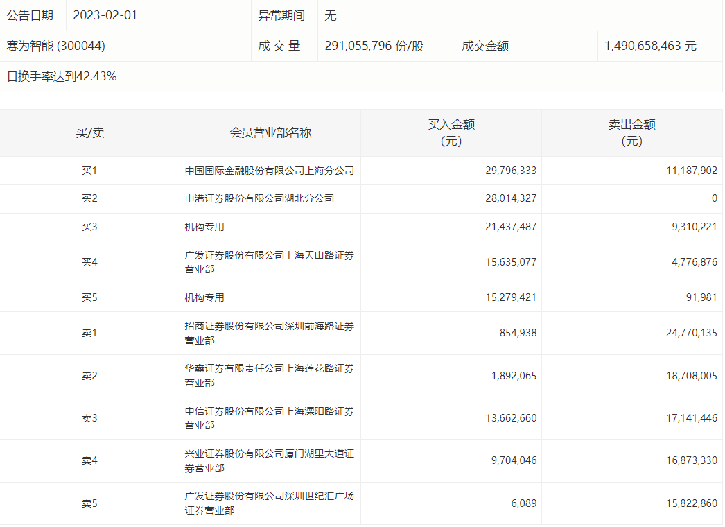
16:37【赛为智能再度涨停 两机构买入3671万元】赛为智能连续3日20cm涨停,盘后数据显示,今日中金公司上海分公司买入2979万元,两机构买入3671万元。

举报
点击关闭