分享到微信![]() 打开微信,点击底部的“发现”, 使用“扫一扫”即可将网页分享至朋友圈。 |

2024/03/13
AI帮你提炼, 10秒看完要点
智能挖掘相关板块, 定位投资机会

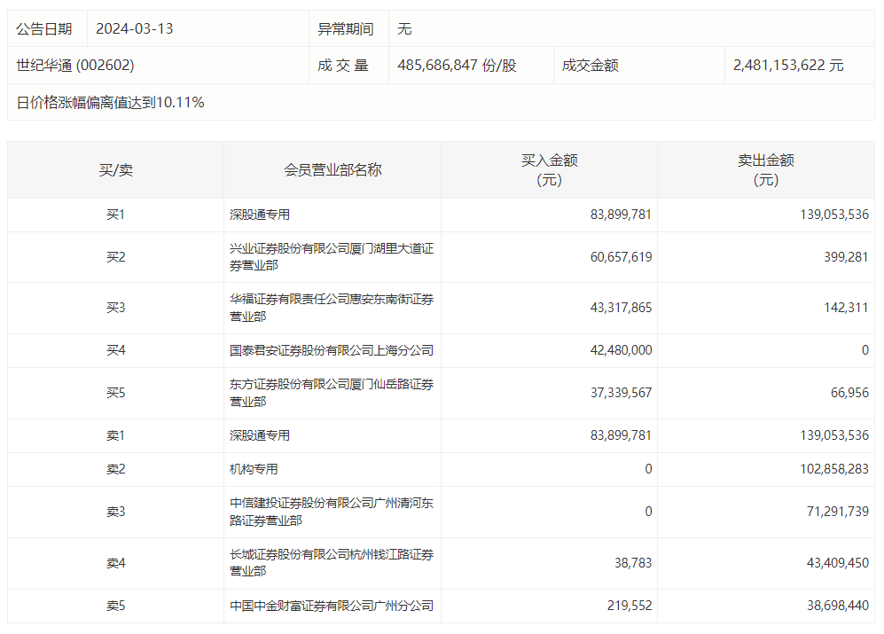
16:26【世纪华通今日涨停 一机构净卖出1.03亿元】世纪华通今日涨停,成交额24.81亿元,换手率7.06%,盘后龙虎榜数据显示,深股通专用席位买入8389.98万元并卖出1.39亿元,一机构专用席位净卖出1.03亿元。
举报
| {{item.suffixTags}} | | {{ item.stockName }} {{ item.code }} | {{ item.close }} | {{ item.upDownPer }} | {{ item.upDown }} |