分享到微信![]() 打开微信,点击底部的“发现”, 使用“扫一扫”即可将网页分享至朋友圈。 |

2024/06/12
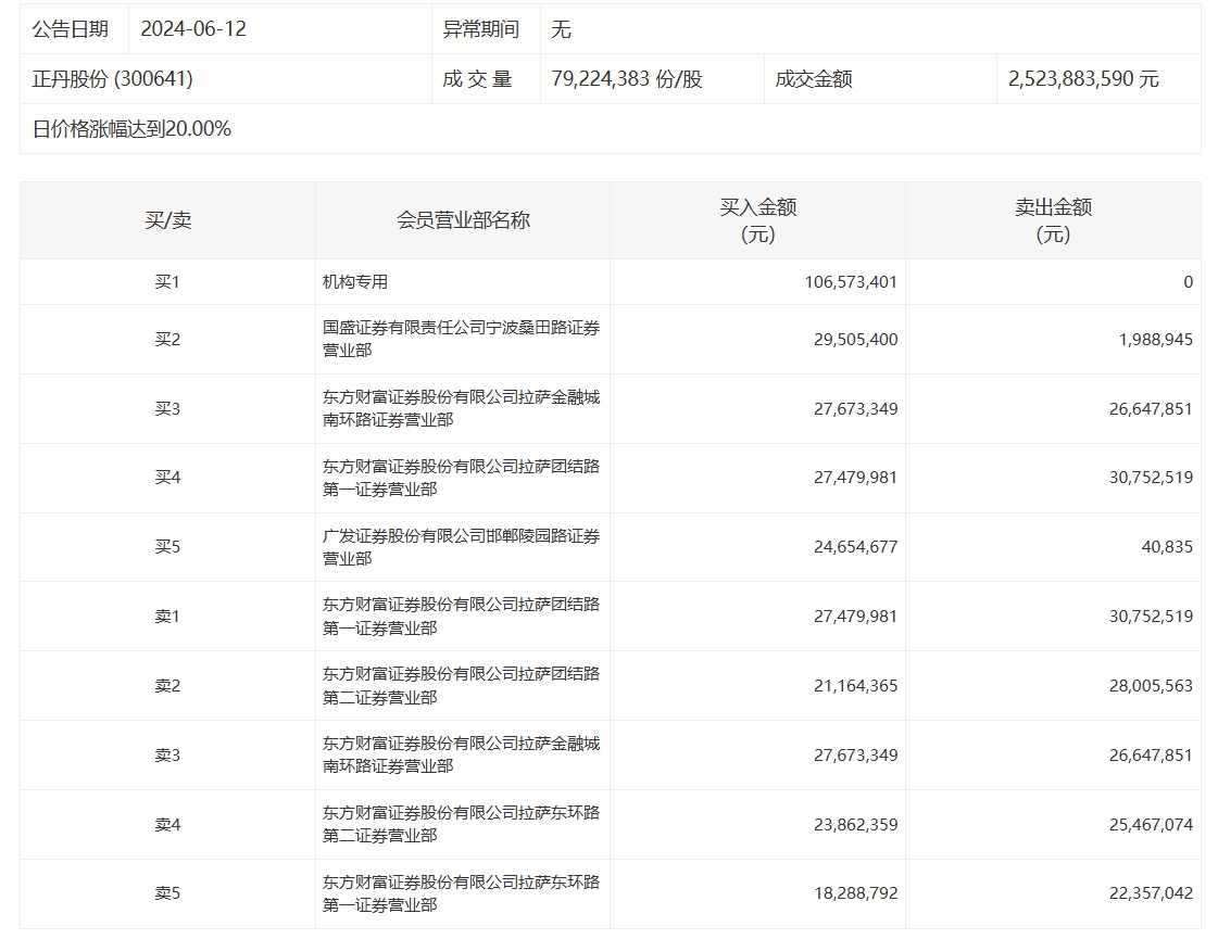
16:32【正丹股份今日20%涨停 一机构净买入1.07亿元】正丹股份今日20%涨停,成交额25.24亿元,换手率15.59%。盘后龙虎榜数据显示,一机构专用席位净买入1.07亿元,卖方前五均为“散户大本营”席位。
举报
| {{item.suffixTags}} | | {{ item.stockName }} {{ item.code }} | {{ item.close }} | {{ item.upDownPer }} | {{ item.upDown }} |