分享到微信![]() 打开微信,点击底部的“发现”, 使用“扫一扫”即可将网页分享至朋友圈。 |

2024/10/16
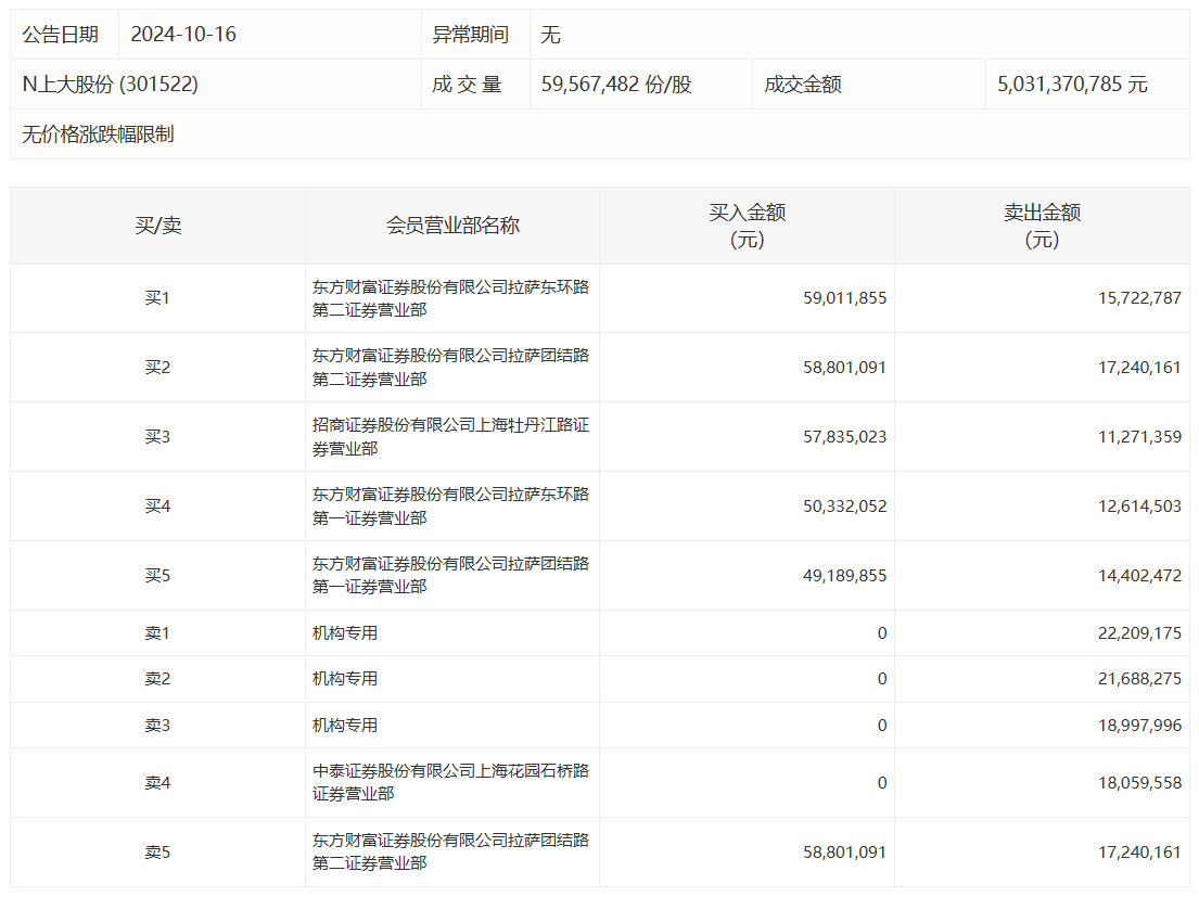
16:29【N上大今日涨1060.61% 三机构净卖出6289.54万元】N上大今日涨1060.61%,成交额50.31亿元,换手率84.31%,盘后龙虎榜数据显示,三机构净卖出6289.54万元。
举报
{{item.suffixTags}} | | {{ item.stockName }} {{ item.code }} | {{ item.close }} | {{ item.upDownPer }} | {{ item.upDown }} |