
{{aisd}}
AI生成 免责声明
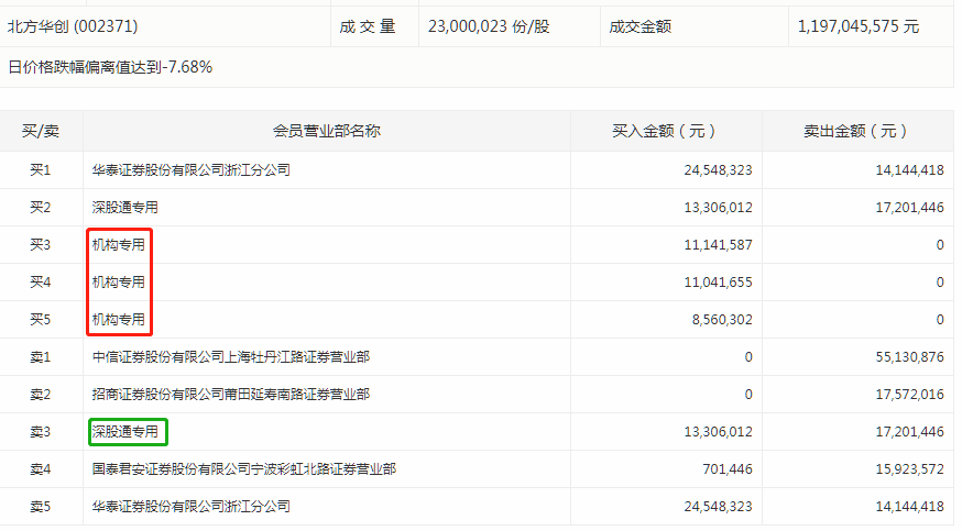
盘后数据显示,9月7日龙虎榜中,共14只个股出现了机构的身影,有2只股票呈现机构净买入,12只个股呈现机构净卖出。
当天机构净买入前二的股票分别是北方华创、新兴装备,净买入金额分别为3074万元、2584万元。
当天机构净卖出前三的股票分别是中科曙光、石基信息、中国软件,净流出金额分别是2652万元、2287万元、728万元。
详见下表:

从详细数据看,机构今日买入最多的北方华创有3家机构买入,净买入金额3074万元。同时,深股通席位净卖出约400万元。

盘面上,公司股价早盘震荡小涨,临近收盘突然快速跳水至跌停,午后开盘跌停板被打开,维持低位震荡,最终收跌7.8%。
消息面,科技股今日全线下挫,北方华创、中国软件急速下挫逼近跌停,太极股份、石基信息、用友网络纷纷跟跌。
在卖出排行榜上,机构卖出最多的中科曙光有2家机构卖出,1家机构买入,净卖出金额1.2亿元。同时沪股通席位买入2570万元。

盘面上,公司股价今日早盘高开高走一度上涨近3%,早盘临近收盘突然直线跳水下跌近8%。午后开盘略作反弹,跌幅进一步扩大,最终收跌8.25%。