
{{aisd}}
AI生成 免责声明
恒立实业(000622)今日跌停,报7.26元,成交额6.37亿元,换手率超20%。

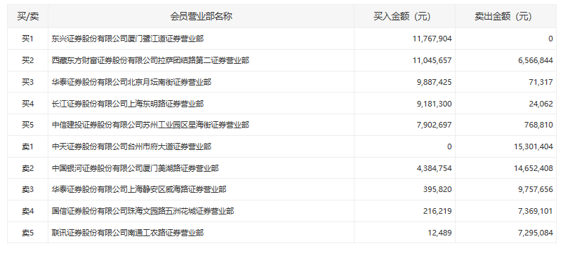
盘后数据显示,多家实力游资出货,中天证券台州市府大道、银河证券厦门美湖路分别卖出1530万元、1465万元。

今日,前期热门股全线哑火,恒立实业、市北高新、鲁信创投、佐力药业、光洋股份、超华科技、日出东方等集体跌停。
据上证报昨日报道,针对近期部分个股股价暴涨暴跌异常情形,上交所已启动违法违规线索核查流程,发现线索将立即上报证监会查处。
分析人士认为,这或对短线资金热情以及创投板块产生压制。
| {{item.suffixTags}} | {{ item.stockName }} {{ item.code }} | {{ item.close }} | {{ item.upDownPer }} | {{ item.upDown }} |