盘后数据显示,12月25日龙虎榜中,共9只个股出现了机构的身影,有1只股票呈现机构净买入,8只个股呈现机构净卖出。
当天机构净买入最多的股票是天山生物,净买入金额为43万元。
当天机构净卖出前三的股票分别是腾龙股份、春兴精工、天奥电子,净流出金额分别是2251万元、1921万元、924万元。
详见下表:

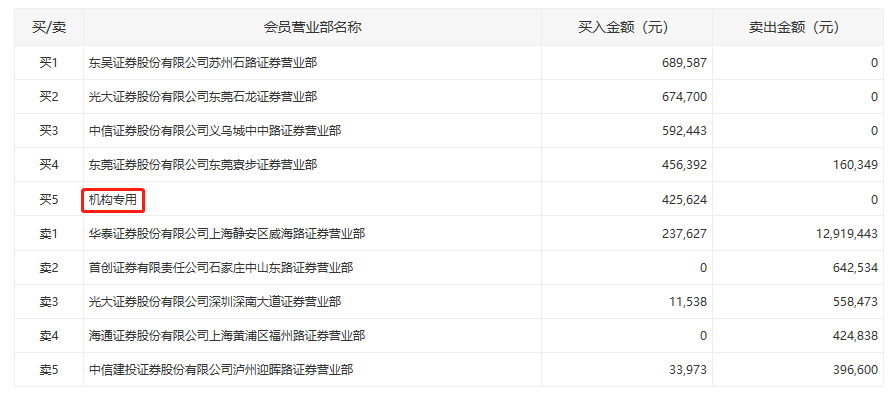
从详细数据看,机构今日净买入最多的天山生物有1家机构买入,净买入金额43万元;此外,5营业部合计卖出1184.16万元。

天山生物今日跌停,报6.41元,换手率2.22%,成交额2632.7万元。
消息面,天山生物今日披露,公司近日收到昌吉回族自治州公安局出具的《立案告知书》,据告知书,天山生物被合同诈骗一案,符合立案条件,立为合同诈骗案侦查。
天山生物被合同诈骗,起因于公司去年的并购标的大象广告,后者执行董事陈德宏涉嫌合同诈骗、资金挪用、违规担保等违法违规行为。
在卖出排行榜上,机构卖出最多的腾龙股份有1家机构进行了卖出,净卖出金额2251万元。

腾龙股份今日跌停,报14.73%,换手率1.89%,成交额6048.9万元。