
{{aisd}}
AI生成 免责声明
今日再创新高的顺灏股份尾盘炸板,收跌5.65%,报19.2元,换手率26.1%,成交额37.59亿元。近10个交易日内,该股已录得7个涨停,1月以来涨幅已高达409.3%。

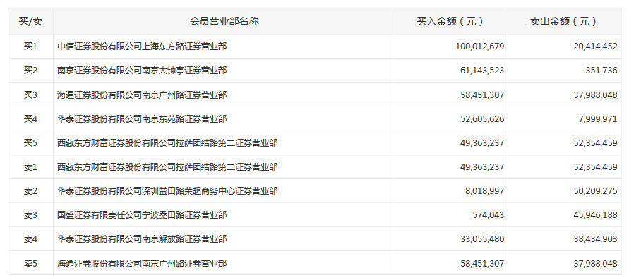
盘后数据显示,中信证券上海东方路买入1亿元并卖出2041万元,南京证券南京大钟亭买入6114万元,西藏东方财富证券拉萨团结路第二营业部买入4936万元并卖出5235万元,华泰证券深圳益田路荣超商务中心卖出5020万元。

4月1日,国家禁毒委员会副主任、公安部反恐专员刘跃进在新闻发布会表示,“工业大麻”的生产、种植、储存、运输在我们国家是有严格的管理程序和总量控制,是在政府有关部门的严格监管下进行的。所以,这个问题在我们国家,到目前为止还没有发现严重的流弊问题。目前,在很多国家将大麻合法化的前提下,中国将更加严格加强对“工业大麻”的监管,堵塞各方面漏洞,健全各种各样的管理制度。
3月27日,国家禁毒委员会办公室下发“关于加强工业大麻管控工作的通知”。通知要求各省市自治区禁毒部门要严把工业大麻许可审批关;各地要对落实公约情况进行审核自查,如有违反公约精神的要采取措施纠正,停止许可审批工作等。通知声明,我国目前从未批准工业大麻用于医用和食品添加,各地要严格遵守规定。
业内人士分析,虽然通知工业用大麻限于纤维和种子,其他用途的种植排除在外,但是由于国外对工业大麻的强劲需求,让“医用大麻二酚(CBD)“的生产者并不因此而停工,反而会因为限制了其他进入者,使得现有的工业大麻的生产商更加受益。
富祥药业今日20%涨停,开源证券西安太华路证券营业部净买入1.06亿元
德明利今日涨停,方正证券重庆金开大道证券营业部净买入5.22亿元
拓维信息今日涨停,国泰海通湛江万豪世家证券营业部净买入3.41亿元
准油股份今日涨停,有3家机构专用席位净卖出5371.75万元
航天发展今日涨停,华泰证券岳阳岳阳大道证券营业部净买入3.22亿元