
{{aisd}}
AI生成 免责声明
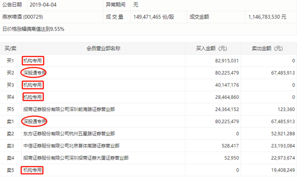
盘后数据显示,4月4日龙虎榜中,共14只个股出现了机构的身影,有6只股票呈现机构净买入,8只个股呈现机构净卖出。
当天机构净买入前三的股票分别是燕京啤酒、百合花、海翔药业,净买入金额分别为1.3亿元、3257万元、2174万元。
当天机构净卖出前三的股票分别是美亚柏科、至纯科技、汇川技术,净流出金额分别是2.4亿元、9176万元、6828万元。
详见下表:

详细来看,机构今日买入的燕京啤酒有3家机构和1家深股通买入,有1家机构和1家深股通卖出,净买入金额13211.88万元。

燕京啤酒今日收报8.00元,涨10.04%,换手率5.96%,总成交额11.47亿元。
4月4日,啤酒股表现强势,青岛啤酒、惠泉啤酒等纷纷跟涨。国泰君安研报指出,降税对整个啤酒行业的改善程度有望超出市场预期。降税后,燕京啤酒利润有望翻倍,青岛啤酒、惠泉啤酒利润有望增长30%,重庆啤酒、珠江啤酒利润预计实现两位数增长。收入规模越大,净利率水平越低,弹性越大。
在卖出排行榜上,机构卖出最多的美亚柏科有4家机构卖出,净卖出金额24278.75万元。

美亚柏科今天收报21.25元,涨2.07%,成交额13.61亿元,换手率12.24%。
此前,美亚柏科公告称,公司控股股东、实控人郭永芳、滕达将公司5.71%股权转让给国投智能,公司其他股东李国林等将公司10.08%股权转让给国投智能,转让价均为15.49元/股。同时,李国林、刘冬颖约定将公司6.8%股权所对应的表决权等授权给国投智能行使。实施后,国投智能在公司拥有表决权的股份数量占公司总股本的22.59%。国投智能将成为公司控股股东,国务院国资委将为公司实控人。
| {{item.suffixTags}} | {{ item.stockName }} {{ item.code }} | {{ item.close }} | {{ item.upDownPer }} | {{ item.upDown }} |
共24只个股出现了机构的身影。
当天机构净买入前三的股票分别是宝丰能源、大金重工、宏景科技,净买入金额分别是6.96亿元、4.58亿元、3.19亿元。
当天机构净买入前三的股票分别是特发信息、建设机械、粤桂股份,净买入金额分别是1.93亿元、1.66亿元、1.16亿元。
当天机构净买入前三的股票分别是恩捷股份、红宝丽、协鑫集成,净买入金额分别是1.8亿元、1.13亿元、1.03亿元。
共29只个股出现了机构的身影。