
{{aisd}}
AI生成 免责声明
5月10日,丰乐种业开盘跌停,随后该股打开跌停板,截至发稿,丰乐种业跌5.06%,报9.75元。此前该股连续四日涨停。

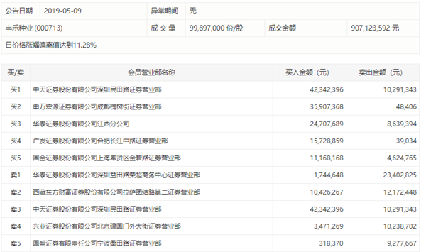
昨日丰乐种业报收10.27元,涨跌幅为9.96%,偏离值达11.28%,换手率33.42%,成交额9.07亿元。盘后数据显示,实力资金大量抛售。中天证券深圳民田路今日买入4234万元并卖出1029万元,华泰证券深圳益田路荣超商务中心卖出2340万元。

昨日晚间,丰乐种业发布公告称,公司关注到资本市场关于“人造肉”传闻引发对涉及豌豆、大豆业务公司股票的关注,为了便于投资者了解,现作如下说明: 公司没有豌豆种子业务,只有大豆种子业务,2018 年度销售大 豆种子 22.57 万公斤,收入 160.89 万元,占公司种子销售收入的 0.57%;2019 年 1-3 月份销售大豆种子 11.88 万公斤,收入 78.67 万元,占公司种子销售收入的 0.60%。
| {{item.suffixTags}} | {{ item.stockName }} {{ item.code }} | {{ item.close }} | {{ item.upDownPer }} | {{ item.upDown }} |
国泰海通证券认为,在地缘冲突“新常态”下,中国较强的能源安全优势、完整工业体系与供应链韧性、中国特色稳市机制的完善提升等,让稳定成为中国经济与股市的底色,让中国市场具有更低的风险评价,加之中国资产本身与全球资产低相关带来的风险分散价值,其“避风港”属性有望逐步显现。
A股后市怎么走?看看机构怎么说。
三大指数集体收涨,沪指涨0.64%,深成指涨1.23%,创业板指涨1.66%。
沪深两市成交额1.92万亿,较上一个交易日放量443亿。
沪深两市成交额1.78万亿,较上一个交易日缩量288亿。