
{{aisd}}
AI生成 免责声明
5月13日,亚光科技连续第三日涨停,收报17.73元,换手率3.15%,成交额1.72亿元。

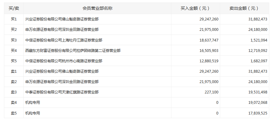
盘后数据显示,近三日,兴业证券佛山魁奇路买入2924万元并卖出3188万元,东方财富拉萨团结路买入1650万元并卖出1271万元,两机构卖出近3700万元。

亚光科技5月5日晚间公告称,近日,公司与境外某特殊公司签署意向订单谅解备忘录,拟以5+9方式向客户提供14艘68米海军巡逻艇,预计每艘价格为1320万美元,预计意向订单总额为1.85亿美元(约合人民币12.4亿元)。
财务数据显示, 公司2018年实现营业收入1,411,328,548.14元,同比增长34.82%;实现归属于上市公司股东的净利润159,440,567.63元,同比增长65.13%;基本每股收益0.28元/股。公司2018年度利润分配预案为:以559,794,902.00为基数,向全体股东每10股派发现金红利0.35元(含税),以资本公积金向全体股东每10股转增8股。