
{{aisd}}
AI生成 免责声明
盘后数据显示,8月5日龙虎榜中,共10只个股出现了机构的身影,有4只股票呈现机构净买入,6只个股呈现机构净卖出。
当天机构净买入前三的股票分别是恒邦股份、丸美股份、金力永磁,净买入金额分别为2121万元、1138万元、1087万元。
当天机构净卖出前三的股票分别是浙江众成、万达信息、华讯方舟,净流出金额分别是3505万元、2862万元、1393万元。
详见下表:

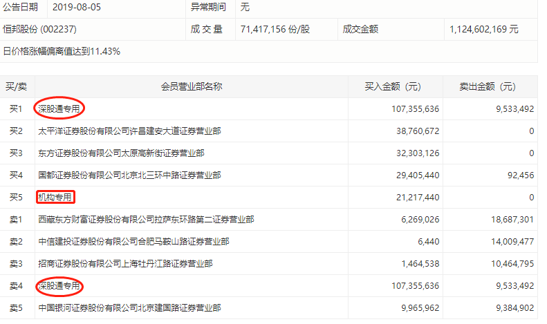
从详细数据看,机构今日净买入最多的恒邦股份有1家机构和1家深股通买入,1家深股通卖出,净买入金额为2121.74万元。

恒邦股份今日收报16.15元,涨10.01%,当日成交11.25亿元,换手率8.385%。
盘后交易所数据显示,今日买五为机构席位,该席位净买入2121.74万元,占龙虎榜净买额的11.5%。同时,今日龙虎榜单上出现了深股通的身影,占据了买一、卖四的位置,净买入9782.21万元,占当日成交总额的8.7%。榜单上出现了一家实力营业部。卖五为中国银河证券北京建国路证券营业部,该席位买入996.60万元,卖出938.49万元,净买额为58.11万元。
现货黄金今日震荡走强,突破两周前高位,续刷2013年5月以来新高;现货白银日内涨幅迅速扩大。受该消息影响,带动黄金板块走强,多只个股股涨停。
申万宏源看好金价持续上涨,预期的波动带来的股价调整是极好的配置时点,建议逢低布局。中长期来看,2019年四季度黄金价格能够在通胀预期的加持下持续上涨。
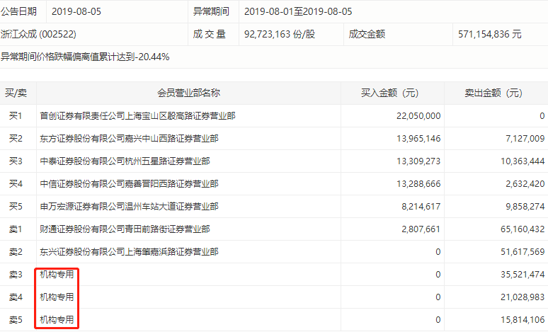
在卖出排行榜上,机构卖出最多的浙江众成有3家机构进行了卖出,净卖出金额为3505.92万元。

浙江众成收报5.67元,跌10.00%,偏离值-8.57%,成交额2.24亿元,换手率4.53%。
浙江众成发布公告称,针对公司股票交易异常波动,公司对有关事项进行了核查,并经向公司控股股东及实际控制人,公司董事会、管理层进行核实,公司目前生产经营情况正常,内外部经营环境未发生重大变化。公司、控股股东和实际控制人不存在关于本公司的应披露而未披露的重大事项,也不存在处于筹划阶段的重大事项。截止目前,公司控股股东、实际控制人陈大魁先生已累计质押公司股份25,781.38万股,占持有公司股份总数的69.36%。陈大魁先生资信状况良好,具备相应的资金偿还能力,有足够的风险控制能力,不存在股票质押平仓风险或被强制平仓的情形。
| {{item.suffixTags}} | {{ item.stockName }} {{ item.code }} | {{ item.close }} | {{ item.upDownPer }} | {{ item.upDown }} |