
{{aisd}}
AI生成 免责声明
盘后数据显示,8月20日龙虎榜中,共10只个股出现了机构的身影,有5只股票呈现机构净买入,5只个股呈现机构净卖出。
当天机构净买入前三的股票分别是浙江鼎力、科瑞技术、读者传媒,净买入金额分别为1.31亿元、2415万元、1088万元。
当天机构净卖出前三只股票分别是科伦药业、山东药玻、美格智能,净流出金额分别是1.27亿元、4672万元、1852万元。
详见下表:

从详细数据看,机构今日净买入最多的浙江鼎力有4家机构和1家沪股通买入,3家机构和1家沪股通卖出,净买入金额为13059.45万元。

浙江鼎力今日报收56.55元,涨跌幅为-7.36%,偏离值达-7.25%,换手率2.55%,振幅9.01%,成交额5.08亿元。龙虎榜数据显示,今日共7个机构席位出现在龙虎榜单上,分别位列买一、买二、买三、买五、卖二、卖三、卖四,合计净买入1.31亿元,是今日龙虎榜中获机构净买入最多的个股。此外,榜单上海出现了沪股通的身影,占据了买四、卖一的位置,净卖出2.50亿,占当日成交总额的49.28%。
中银国际证券的研报称,基于公司半年度业绩、行业竞争加剧等影响,下调公司盈利预测,预计 2019-2021 年归母净利润分别为 6.3/8.1/11.1 亿元,EPS 分别为 1.81/2.34/3.20 元(原预测为 1.92/2.58/3.64 元),对应 PE 分别为 37.5/29.0/21.2 倍,基于对后续臂式新产品的放量带来的业绩回升预期,维持买入评级。
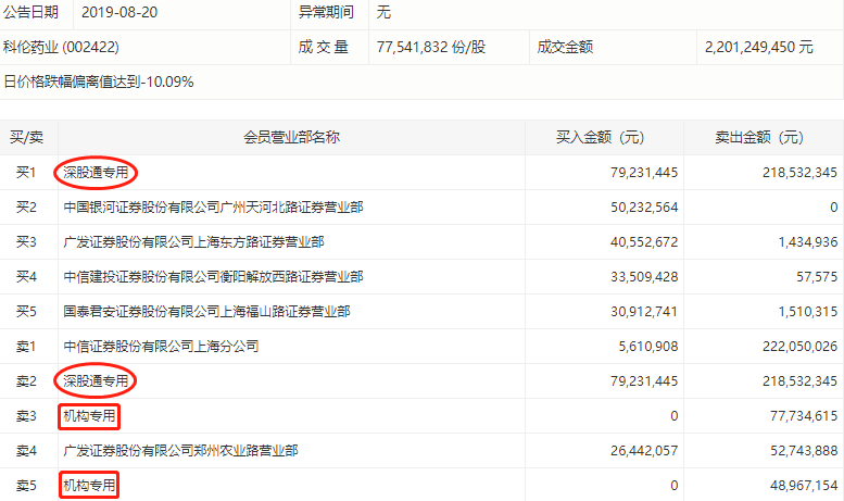
在卖出排行榜上,机构卖出最多的科伦药业有2家机构和1家深股通进行了卖出,1家深股通买入,净卖出金额为12670.18万元。

科伦药业报收27.59元,涨跌幅为-9.98%,偏离值达-10.09%,换手率7.51%,振幅8.97%,成交额22.01亿元。
龙虎榜数据显示,今日共2个机构席位出现在龙虎榜单上,分别位列卖三、卖五。合计净卖出1.27亿元,占龙虎榜净卖额的35.54%,是今日龙虎榜中遭机构净卖出最多的个股。今日龙虎榜单上出现了深股通的身影,占据了买一、卖二的位置,净卖出1.39亿元,占当日成交总额的6.33%,是遭深股通净卖额最高的个股。
科伦药业8月16日晚间发布公告,证监会依法对公司提交的《四川科伦药业股份有限公司上市公司公开配股》行政许可申请材料进行了审查,认为申请材料齐全,决定对该行政许可申请予以受理。
| {{item.suffixTags}} | {{ item.stockName }} {{ item.code }} | {{ item.close }} | {{ item.upDownPer }} | {{ item.upDown }} |
当天机构净买入前三的股票分别是特发信息、建设机械、粤桂股份,净买入金额分别是1.93亿元、1.66亿元、1.16亿元。
当天机构净买入前三的股票分别是恩捷股份、红宝丽、协鑫集成,净买入金额分别是1.8亿元、1.13亿元、1.03亿元。
共29只个股出现了机构的身影。
共41只个股出现了机构的身影。
共45只个股出现了机构的身影。