
{{aisd}}
AI生成 免责声明
周一午后,九鼎新材一度拉升涨停,录得连续8个交易日涨停,报29.59元。然而该股尾盘快速跳水,止步于七连板。截至收盘,九鼎新材涨3.61%,报27.87元,成交额18.98亿元,换手率20.82%。

消息面上,8月23日,深交所表示,对盘中异常波动的九鼎新材进行重点监控,并及时采取监管措施。
九鼎新材的连板之路,源于其7月17日发布的一则公告。九鼎新材公告称,收到公司实际控制人、控股股东顾清波的通知,顾清波正在筹划将其部分股份转让给深圳正威(集团)有限公司或其指定第三方(以下简称“交易对方”),可能涉及公司控制权变更, 交易对方所属行业是金属和非金属新材料领域,本次交易完成后,交易对方和其一致行动 人将持有公司20%以上但不超过30%的股份。
受上述消息刺激,涨该股自7月18日以来,股价累计涨317.2%,最新市值92.66亿元。
谁在炒作九鼎新材?
交易所公布的盘后数据显示,从7月18日以来,九鼎新材成为各路游资倒手的阵地,其中不乏知名“涨停敢死队”的身影。
老牌“敢死队”国信深圳泰然九路营业部则是在7月30日登上龙虎榜,当天买入329.48万元,三天内共买入了904.79万元。
此外,平安证券深圳深南东路罗湖商务中心营业部、北京远大路营业部、杭州求是路营业部等,都参与了九鼎新材的炒作。
8月22日,深交所公布的盘后数据显示,依旧是游资在进行炒作,并无机构介入。数据显示,西藏东方财富拉萨东环路第二证券营业部买入2095万元并卖出1223万元,国泰君安杭州庆春路买入1853万元,中信证券杭州市心南路卖出1461万元。
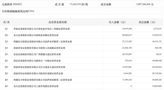
8月23日,盘后数据显示,华泰证券天津东丽开发区二纬路买入3397万元,光大证券深圳金田路买入2826万元并卖出1501万元,东财拉萨东环路买入2711万元并卖出1815万元,国信证券福州五一中路卖出4368万元。

| {{item.suffixTags}} | {{ item.stockName }} {{ item.code }} | {{ item.close }} | {{ item.upDownPer }} | {{ item.upDown }} |