
{{aisd}}
AI生成 免责声明
盘后数据显示,10月24日龙虎榜中,共7只个股出现了机构的身影,有2只股票呈现机构净买入,5只个股呈现机构净卖出。
当天机构净买入的两只股票分别是壹网壹创、古鳌科技,净买入金额分别是5264万元、1249万元。
当天机构净卖出前三的股票分别是证通电子、雄韬股份、科斯伍德,净流出金额分别是751万元、748万元、669万元。
详见下表:

从详细数据看,机构今日净买入最多的壹网壹创有3家机构买入,净买入金额为5264.1万元。

壹网壹创今日报收154.50元,涨跌幅为6.16%,换手率32.88%,振幅7.56%,成交额9.95亿元。
壹网壹创发布2019年前三季度业绩预告称,预计2019年1月1日-2019年9月30日,归属于上市公司股东的净利润为9306.70万元–9678.97万元,比上年同期增长25%-30%。
天猫23日公布的数据显示,10月21日预售首日,天猫成交额较去年同期实现翻倍。在美妆领域,预售开启的10分钟内,雅诗兰黛、兰蔻、欧莱雅、资生堂、HR赫莲娜、Olay、Whoo7个美妆品牌成交额分别超过1亿元。
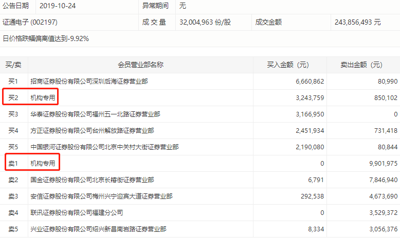
在卖出排行榜上,机构卖出最多的证通电子有1家机构卖出,1家机构买入,净卖出金额为750.83万元。

证通电子报收7.53元,涨跌幅为-10.04%,偏离值达-9.92%,换手率7.37%,振幅3.82%,成交额2.44亿元。
证通电子发布2019年第三季度报告显示,报告期内营业收入254,813,899.20元,同比下滑22.15%;归属于上市公司股东的净利润6,981,304.33元,同比增长157%。
