盘后数据显示,3月13日龙虎榜中,共23只个股出现了机构的身影,有15只股票呈现机构净买入,8只个股呈现机构净卖出。
当天机构净买入前三的股票分别是海特生物、福日电子、博杰股份,净买入金额分别是4729万元、2458万元、2242万元。
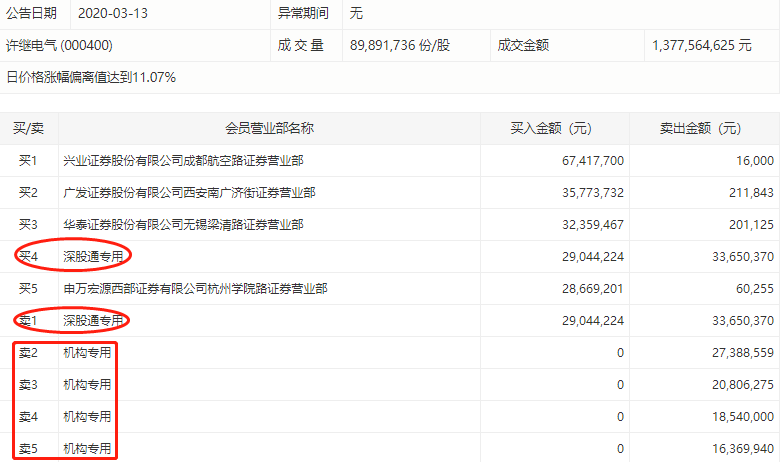
当天机构净卖出前三的股票分别是许继电气、罗牛山、芯源微,净流出金额分别是8310万元、1501万元、1153万元。
详见下表:

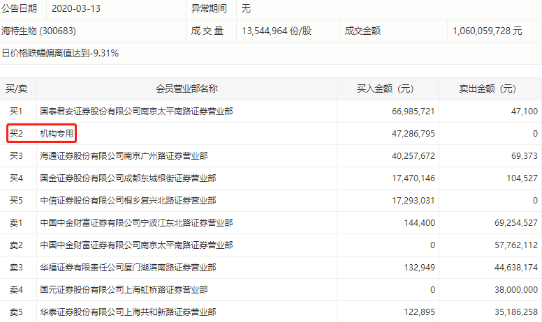
从详细数据看,机构今日净买入最多的海特生物有1家机构席位买入,净买入金额为4728.68万元。

海特生物今日收报76.00元,涨跌幅为-10.00%,偏离值达-9.31%,换手率28.55%,振幅10.66%,成交额10.60亿元。
海特生物昨日公告称,针对公司参股子公司北京沙东完成重组变构人肿瘤坏死因子相关凋亡诱导配体III期临床试验揭盲和主要数据分析工作的相关事项,此前公告已进行披露,本次揭盲结果不会对公司近期业绩产生重大影响,仅是关键数据的初步分析结果,完整的有效性和安全性结果将以统计分析报告的最终分析结果为准。新药研发受到技术、审批、政策等多方面的影响,相关研发进展及未来产品市场竞争形势等均存在诸多不确定性风险。
在卖出排行榜上,机构卖出最多的许继电气有4家机构席位和1家深股通席位卖出,1家深股通席位买入,净卖出金额为8310.48万元。

许继电气报收16.05元,涨跌幅为10.01%,偏离值达11.07%,换手率8.92%,振幅15.08%,成交额13.78亿元。
国家电网公司已研究编制了《2020年特高压和跨省500千伏及以上交直流项目前期工作计划》,明确将加速南阳-荆门-长沙工程等5交5直特高压工程年内核准以及前期预可研工作。国网公司董事长毛伟明表示,目前全年公司特高压建设项目明确投资规模1128亿元,可带动社会投资2235亿元,整体规模近5000亿元。
共34只个股出现了机构的身影。
当天机构净买入前三的股票分别是昂利康、天府文旅、深桑达A,净买入金额分别是1.86亿元、1.52亿元、1.04亿元。
当天机构净买入前三的股票分别是工业富联、禾望电气、易点天下,净买入金额分别是14.98亿元、4.57亿元、1.73亿元。
当天机构净买入前三的股票分别是长飞光纤、西藏天路、英维克,净买入金额分别是1.79亿元、1.26亿元、8437万元。
当天机构净买入前三的股票分别是景旺电子、德科立、北方长龙,净买入金额分别是2.5亿元、1.38亿元、1.16亿元。