
{{aisd}}
AI生成 免责声明
盘后数据显示,5月8日龙虎榜中,共25只个股出现了机构的身影,有9只股票呈现机构净买入,16只个股呈现机构净卖出。
当天机构净买入前三的股票分别是德赛电池、盛达资源、财富趋势,净买入金额分别是3.42亿元、7260万元、7230万元。
当天机构净卖出前三的股票分别是东南网架、电子城、隆基机械,净卖出金额分别是1.79亿元、7718万元、3877万元。
详见下表:

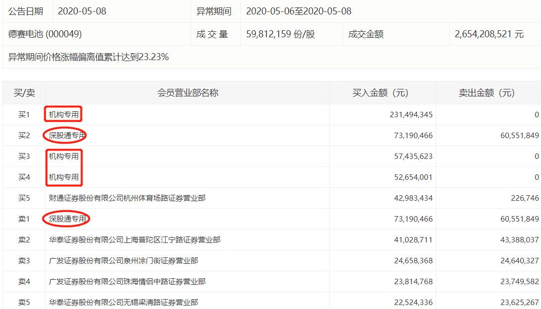
从详细数据看,机构今日净买入最多的德赛电池有3家机构和1家深股通买入,1家深股通卖出,净买入金额34158.40万元。

德赛电池今日收报47.50元,涨5.81%,成交额11.82亿元,换手率12.32%。
德赛电池此前披露的2020年第一季度报告显示,报告期内实现营收2,883,594,664.69元,同比下滑16.69%;归属于上市公司股东的净利润47,261,563.55元,同比下滑30.40%。
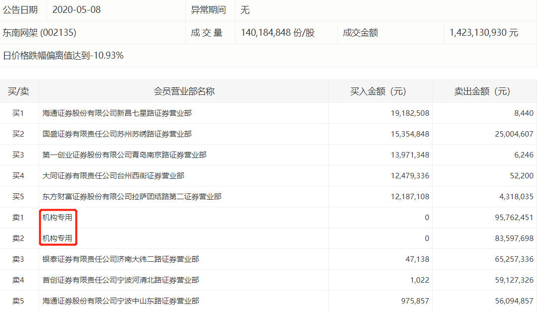
在卖出排行榜上,机构卖出最多的东南网架有2家机构进行了卖出,净卖出金额17936.01万元。

东南网架收报9.53元,跌10.01%,偏离值-10.93%,成交额14.23亿元,换手率14.63%。
东南网架公告称,公司第一期员工持股计划锁定期将于2020年5月10日届满。截止2019年5月10日,公司第一期员工持股计划通过“西藏信托有限公司-西藏信托-智昂5号集合资金信托计划”在深圳证券交易所二级市场累计买入公司股票2089.3704万股,占公司总股本的2.02%,成交均价为5.86元/股,成交金额为人民币约1.22亿元。此次员工持股计划所购买的股票锁定期为自公告完成股票购买之日起12个月,即2019年5月11日至2020年5月10日。