
{{aisd}}
AI生成 免责声明
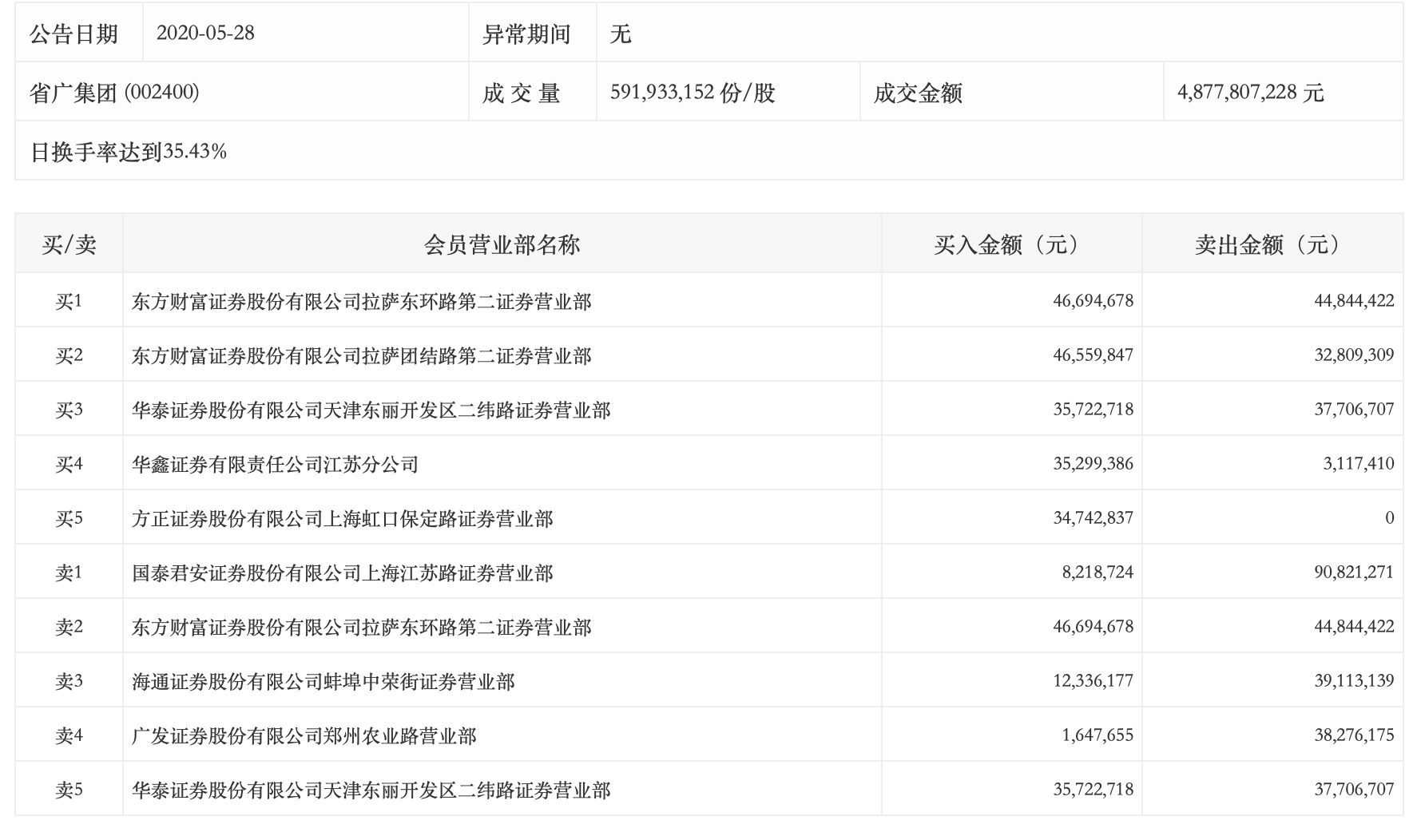
5月28日,省广集团再度涨停,报8.90元/股,成交量59193.30万股,成交额创历史新高。
盘后数据显示,东财两活跃营业部合计买入9325万元,国泰君安上海江苏路卖出9082万元。

该股已经连续三个交易日涨停。同时,自4月8日以来,省广集团已经陆续实现了18个涨停板,成为新晋网红经济概念龙头股。
省广集团股价本轮上涨源自其官网4月7日发布的一则宣传稿。当日,省广集团在官网的公司动态中公布称,近日,省广集团正式与字节跳动ByteDance签署出海合作协议,成为TikTok Ads出海核心代理,获得TikTok(抖音国际版)等多款海外流量产品在五大洲150多个国家和地区的出海代理权。

不过,这则重要信息省广集团只选择在官网公布,却未通过法定信披渠道。
为此,省广集团解释称,公司与字节跳动是长期业务合作伙伴关系,近期与其签署的出海合作协议为日常经营业务正常开展所涉协议,不涉及具体金额,不属于重大合同,未达到信披标准。
5月27日盘后,省广集团还发布控股股东股份减持计划的预披露公告。因正常经营需要,省广集团控股股东广新集团计划通过集中竞价或大宗交易方式减持公司股份合计不超过4358.34万股,即不超过公司总股本的2.5%。
值得注意的是,数据显示,2020年第一季度,省广集团实现营收22.81亿元,较上年同期增长2.33%;归属于上市公司股东净利润为3354.27万元,较上年同期下滑46.81%。公司预计1-6月份归属于上市公司股东净利润为3500万元-5000万元,较上年同期下滑66.50%-52.13%。
对于一季度及上半年净利润下滑,省广集团表示,受新冠肺炎疫情影响,公司广告投放业务下降。公司称,虽然经营业绩受到疫情影响,但是长期的持续盈利能力并未受到影响,公司将全力落实本年度经营战略和经营计划,降本增效,开源节流,力争将疫情对公司造成的影响降到最低。
共56只个股出现了机构的身影。
共55只个股出现了机构的身影。
一年卖 1.9 亿的数字人直播间,到底藏着什么秘密?
罗永浩表示如果后期不能改善体能问题,将不再举办这种大型活动。
今年双11,AI和近场电商加入,战线又一次破了长度纪录,我们似乎进入了一个技术驱动、效率至上的新战场。一切都更精细、更复杂,也……更习以为常。 以至于很多人感叹,很久没有小玩家一战成名,颠覆牌桌的热血故事了。 但新的增长故事从未缺席。 比如,有人在极度依赖品牌叙事的香氛赛道,用极致的零售效率和可复制的务实门店模型,跑出了让人侧目的增长速度。有人把工业级3D打印机,变成了人人可上手的消费级大玩具,一统簪娘、胶佬与小学生等几个原本孤立的兴趣圈层。有人将一档种地综艺做成了贯穿内容、消费与文旅的全栖生态,品牌只是周边,主题乐园才是终局,让粉丝经济成了一门可以被众多城市参考的产业模式。 因此,我们开启了双11特别观察系列「小王也是王」,深入服饰、户外、美妆、3C数码乃至IP周边等领域,去寻找那些“潜行”玩家。他们或许没有占据榜单的绝对C位,却拥有与众不同的商业假设、用户洞察,以及对新品类、新场景的定义能力。 我们关注的,不只是他们“赢”的结果,更是他们“如何赢”的路径。