
{{aisd}}
AI生成 免责声明
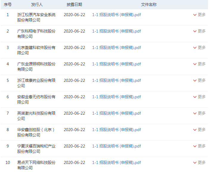
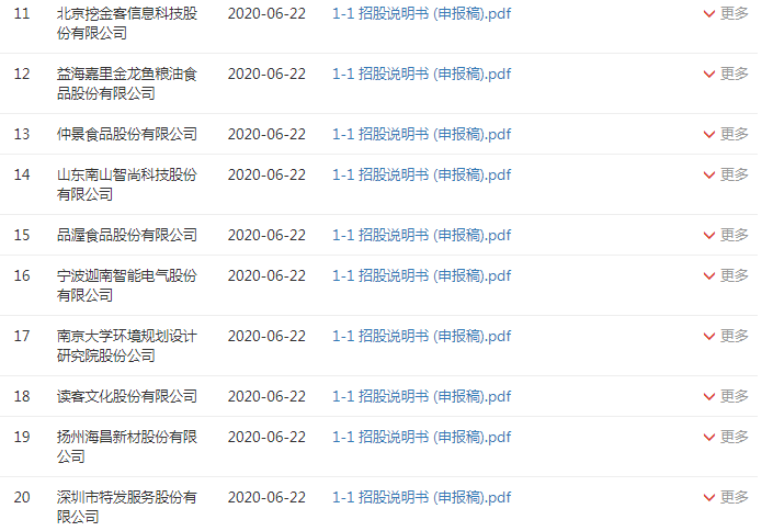
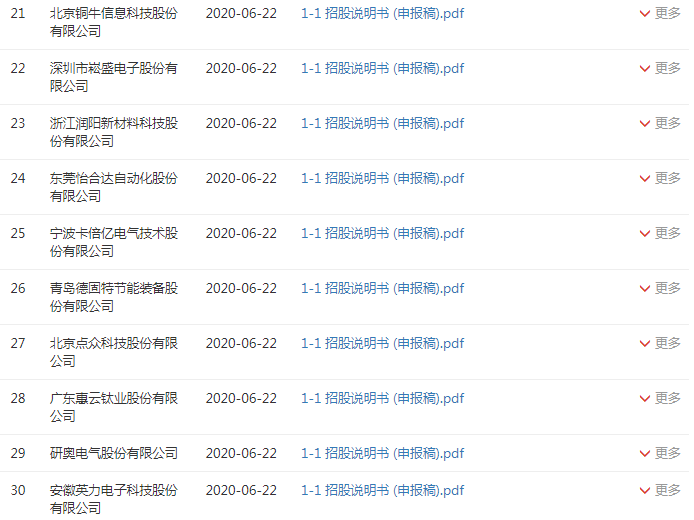
6月22日,创业板改革并试点注册制的首批获受理企业揭开“面纱”。
深交所网站显示,包括浙江松原汽车安全系统股份有限公司、广东科翔电子科技股份有限公司、北京盈建科软件股份有限公司、北京锋尚世纪文化传媒股份有限公司、秦皇岛天秦装备制造股份有限公司、浙江润阳新材料科技股份有限公司、北京点众科技股份有限公司等32家公司。




按证监会分类,来自“计算机、通信和其他电子设备制造业”行业的企业最多,达4家;此外,“软件和信息技术服务业”有3家企业;房地产业1家,为深圳市特发服务股份有限公司。
按照衔接安排,在6月15日至29日的10个工作日里,深交所仅接收在审企业提交的相关申请;6月30日起,开始接收新申报企业提交的相关申请。
根据安排,对于IPO申请,深交所在受理后的20个工作日内,将对首批企业提出首轮审核问询。首轮审核问询后,存在一定情形的,在回复后10个工作日内,深交所可以继续提出审核问询。

发展国际医疗,仍需要完善服务规范标准。
2025年,中国消费市场迎来智能创新全面渗透的分水岭,品牌通过科技重构供应链、定义新场景、连接新用户,实现从规模红利向技术复利的转型。
1月27日,海关总署推出的海铁、水水多式联运业务新模式在浙江率先落地,实现进出口双向通道贯通,显著简化通关流程、降低物流成本并提升港口竞争力。
在三级医院,AI有机会做到在提质增效的前提下助力医生成长。但在更为基层的医疗机构中,张文宏的担忧确实戳中了它们的痛处。