首页 > 新闻 > A股

分享到微信

打开微信,点击底部的“发现”,
使用“扫一扫”即可将网页分享至朋友圈。

云南白药股价再创历史新高,四机构累计买入超3亿元丨热公司

第一财经 2021-01-05 17:08:59

作者:一财资讯    责编:张瑜

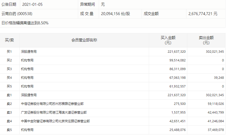
云南白药涨停,截至收盘,报137.46元,再创历史新高,全天成交26.8亿元。至此,该股已连续两日涨停。

1月5日,云南白药涨停,截至收盘,报137.46元,再创历史新高,全天成交26.8亿元。至此,该股已连续两日涨停,去年12月以来累计涨幅超44%。

交易所公布的盘后数据显示,深股通今日买入2.22亿元并卖出3.02亿元,四个机构席位合计买入3.15亿元。

晚间,云南白药发布公告称,1月5日接到员工持股计划管理委员会的通知,获悉公司员工持股计划减持完毕,近一月通过集中竞价合计减持330.1万股,占公司总股本比例0.26%。

举报
第一财经广告合作,请点击这里
此内容为第一财经原创,著作权归第一财经所有。未经第一财经书面授权,不得以任何方式加以使用,包括转载、摘编、复制或建立镜像。第一财经保留追究侵权者法律责任的权利。
如需获得授权请联系第一财经版权部:banquan@yicai.com

文章作者

一财最热
点击关闭