首页 > 新闻 > A股

分享到微信

打开微信,点击底部的“发现”,
使用“扫一扫”即可将网页分享至朋友圈。

鲁西化工跌停,深股通净买入超8000万元

第一财经 2021-03-02 16:55:45 听新闻

作者:一财资讯    责编:李燕华

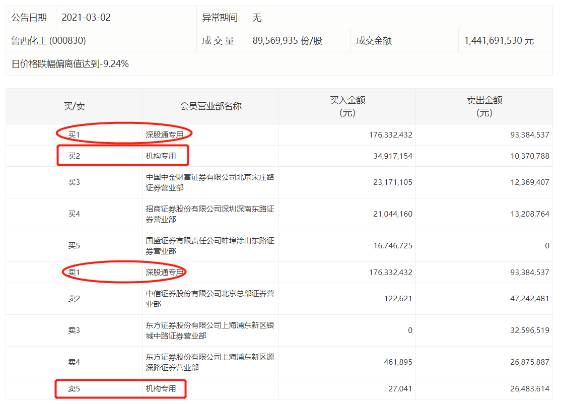
盘后数据显示,2机构席位合计净卖出191.02万元,占该股今日总成交额的0.13%;深股通净买入8294.79万元,占当日成交总额的5.75%。

3月2日,鲁西化工跌停,收报15.59元,换手率6.12%,振幅9.30%,成交额14.42亿元。盘后数据显示,共2个机构席位出现在榜单上,一机构净买入2454万元,另一机构卖出2648万元,合计净卖出191.02万元,占该股今日总成交额的0.13%。深股通占据了买一、卖一的位置,净买入8294.79万元,占当日成交总额的5.75%。

随着国际油价的攀升,相关石化产品价格也不断上涨。春节后,国内丁辛醇类化工品的价格出现一轮罕见的跳涨。生意社数据显示,异辛醇、正丁醇等的上涨幅度均超过50%,这也给A股相关上市公司带来利好。

国信证券指出,自2020年三季度以来化工行业的大周期,是在国内终端需求大幅复苏及下游补库存周期的大背景下,同时由于国外疫情导致部分海外化工装置的不可抗力或停产,导致了国内供给弥补海外供需缺口。此外,由去年于上半年国内疫情及原油价格的暴跌,国内多数化工产品价格上半年下跌到历史低位,导致了行业较低的开工率,引发了化工产品被动去库存,目前多数化工产品库存水平仍然处于较低水平,同时国内经济复苏导致下需求旺盛,而今年国内企业及下游环节也将进入补库存周期,国际油价也处于长周期上行通道,继续看多化工行业景气度的持续上行,近期重点关注丁辛醇、MDI、EVA、氨纶、纯碱等产品价格的上涨趋势及相关弹性标的。

举报
第一财经广告合作,请点击这里
此内容为第一财经原创,著作权归第一财经所有。未经第一财经书面授权,不得以任何方式加以使用,包括转载、摘编、复制或建立镜像。第一财经保留追究侵权者法律责任的权利。
如需获得授权请联系第一财经版权部:banquan@yicai.com

文章作者

相关股票
一财最热
点击关闭