打开微信,点击底部的“发现”,使用“扫一扫”即可将网页分享至朋友圈。
第一财经 2021-03-08 16:46:27
责编:陆一丹
{{aisd}}
AI生成 免责声明
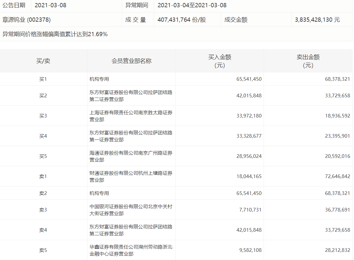
章源钨业今日涨停,盘后数据显示,一机构买入6554万元并卖出6838万元,东方财富拉萨团结路第二证券营业部买入4202万元,财通证券杭州上塘路证券营业部卖出7265万元。
共41只个股出现了机构的身影。
杠杆资金重仓股曝光 东方财富居首
盐湖股份现10.04亿元溢价大宗交易
荣盛石化现3.72亿元折价大宗交易
毛宁表示,我们一贯愿意同欧方一道本着开放合作的态度,加强合作,妥处分歧,共同维护国际经贸秩序。