
{{aisd}}
AI生成 免责声明
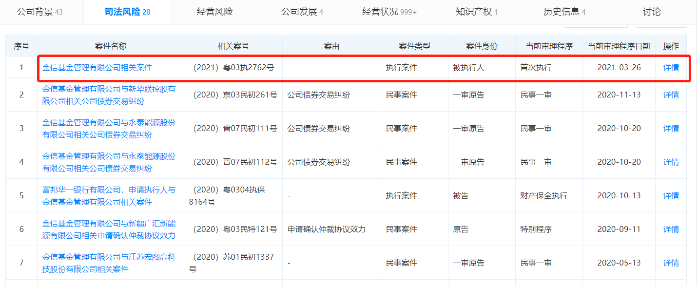
天眼查显示,3月26日,金信基金新增一条被执行人信息,案号为(2021)粤03执2762号,执行标的3940.74万元,执行法院为深圳市中级人民法院。此外,金信基金关联多条法律诉讼,案由包括公司债券交易纠纷、证券回购合同纠纷等。
“该事件中金信基金显示为执行人,是因为金信基金代表所管理的专户产品履行法律程序。该专户产品成立于《资管新规》发布之前,为'通道型产品'。该产品的基金资产与金信基金自有资金之间按照法律法规有效隔离,不存在金信基金财产被执行的情况,该事件对金信基金的自有资产与公司经营未产生任何影响。”金信基金向第一财经记者表示。
另一位知情人士称,确实是专户产品的债券踩雷,但不是洛娃债。


这并不是金信基金首只专户踩雷。
2019年10月8日,中国裁判文书网公开北京市第三中级人民法院关于《金信基金管理有限公司与洛娃科技实业集团有限公司公司债券交易纠纷一审民事判决书》,即金信基金专户踩雷洛娃违约债。
上述民事判决书显示,2018年6月6日、2018年7月10日,金信基金旗下“金信创享1号特定客户资产管理计划”分别通过华林证券、东海证券买入洛娃集团发行的“洛娃科技实业集团有限公司2016年度第一期中期票据”(简称“16洛娃科技MTN001”,代码:101683004)40万张、30万张,票面金额分别为4000万元、3000万元,共计7000万元。该票据期限3年,发行金额为人民币4.5亿元。计息期限为2016年6月22日至2019年6月22日。
2018年12月6日,上海清算所发布公告,宣布洛娃集团的2017年度第一期短期融资券(“17洛娃科技CP001”)应于2018年12月6日兑付,但截至兑付日营业终了,洛娃集团未能按期足额偿付本息,已构成实质违约,并导致“18洛娃科技MTN001”等其他债券交叉违约。
2019年6月24日,上清所公告称,仍未收到“16洛娃科技MTN001”的兑付资金,无法代理发行人进行本期债券的付息兑付工作。
对于解决办法,2019年10月8日,北京三中院作出判决,洛娃集团于本判决生效后七日内给付金信基金2016年度第一期中期票据债券本金7000万元及利息227.08万元;并逾期支付2016年度第一期中期票据债券本金及利息的违约金,以上述债券本金和利息为基数,自2019年1月9日起至2019年5月13日止,按照日利率0.21‰计算。记者粗略估算,约182万元,合计约7409万元。但对于金信基金超出部分的诉讼请求,因缺乏法律依据,法院不予支持。
资料显示,金信基金成立于2015年7月,注册资本1亿人民币,法定代表人为殷克胜。金信基金作为国内首家管理团队出任第一大股东的公募基金公司,管理团队持股合计达35%,是公司的第一大股东。
有业内人士认为,这种背景会导致公司更追求业绩,风控方面可能会暗含风险。
据Choice显示,截至2020年底,金信基金公募共有15只(合并统计)产品,总规模12.7亿元,较2019年底仅增加0.38亿元,在159家基金公司中规模排名第138位,剔除货币基金后,金信基金规模为12.17亿元。