
{{aisd}}
AI生成 免责声明
本周(4月19日-23日),主力资金流入医疗保健、金融等板块。其中131只个股本周主力资金净流入超1亿元。歌尔股份获主力资金买入28.52亿元居首,该股本周累计上涨26.25%。歌尔股份预计上半年净利润为15.61亿元至17.96亿元,同比增长100%至130%;公司公告称分拆所属子公司歌尔微电子至创业板上市。
东方财富、格林美、宁德时代、爱尔眼科获主力资金净流入规模居前,分别净流入19.08亿元、17.62亿元、13.53亿元、12.93亿元。

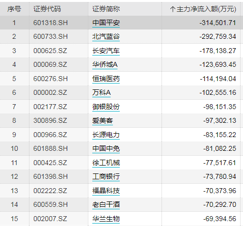
此外,285只个股本周遭主力资金净流出超1亿元。中国平安遭主力净卖出31.45亿元居首,该股本周股价基本持平。2021年第一季度,中国平安实现归属于母公司股东的净利润272.23亿元,同比增长4.5%;对华夏幸福相关投资资产进行减值计提及估值调整额为182亿元。
北汽蓝谷、长安汽车、华侨城A、恒瑞医药主力资金净流出规模居前,分别净流出29.28亿元、17.81亿元、12.37亿元、11.42亿元。

大盘方面,本周上证指数累计涨1.39%; 深证成指涨4.6%; 创业板指大涨7.59%,创3个月最大单周升幅。北向资金一周累计净买入逾210亿元。
海通证券表示,回顾3月下旬以来的这波反弹,创业板指反弹近400点,反弹幅度高达13.66%,主要是抱团股在节后下跌杀估值释放风险后,随着一季报业绩披露,部分业绩超预期的抱团品种开始陆续反弹,带领指数反弹。创业板指中占权重比较高的三个行业分别是:医疗医药、电气设备、电子、软件服务,而创业板这波反弹,主要就是医疗医药,电器设备两个行业连续反弹带动指数反弹的,这两天明显市场题材股炒作进入退潮期,但是指数却很强势,主要的原因就是医药板块持续反弹,整个医药产业链是非常庞大的,之前医药板块只有医美、CRO是比较强的,但这两天已有全面扩散的迹象。
A股市场近期上演结构性资金调仓,电网设备板块因新型电力系统建设与AI算力需求爆发吸引超67亿元净流入,而油气板块则因油价剧烈波动和获利了结遭遇约67亿元资金净流出。
投资者眼中推动新兴市场资产上涨的主要因素——寻求分散投资、摆脱对美元资产的依赖、估值吸引力以及稳健的经济增长等,仍然存在。
共38只个股出现了机构的身影。
2025年中国大陆ETF规模已超越日本,以约8600亿美元的总规模跃升为亚洲最大的ETF市场。
A股后市怎么走?看看机构怎么说。