
{{aisd}}
AI生成 免责声明
5月28日,锂电池概念股受热捧,恩捷股份一度封板,截至收盘,涨10%,报164.85元,全天成交逾19亿元。

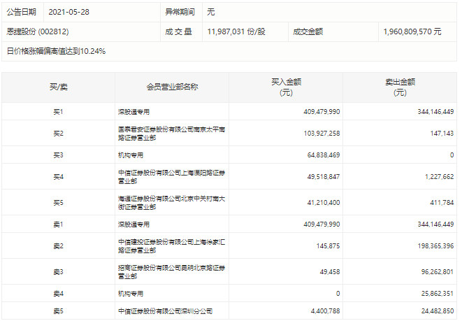
深交所公布的恩捷股份盘后数据显示,深股通买入4.09亿元并卖出3.44亿元,一机构买入6484万元。

天风证券认为,宁德时代宣布7月前后发布钠电池,难扰锂电长逻辑。钠电池不会对锂电池带来威胁,在储能领域两者还能形成互补关系。4月新能源车销量淡月不淡,大尺寸新能源车渗透有望带动锂盐需求增长。预计氢氧化锂价格持续上行。预计今年下半年需求旺季,氢氧化锂供应有可能紧张。
招商证券表示,上调恩捷股份目标价最高至170元,维持“强烈推荐-A”投资评级,公司动力电池隔膜海内外客户持续放量,在今年底将具备40亿平以上产能。同时,公司成功并购苏州捷力和钮米科技,强化消费电池隔膜领域布局。
盘面上,商业航天、太空光伏、锂矿、AI应用题材跌幅靠前。
中国锂电池产业凭借强劲实力和海关精准服务,推动浙江一季度锂电池出口同比增长124.2%,加速抢占国际市场。
全市场近4300只个股上涨。
第139届广交会于4月15日在广州开幕,展览规模创历史新高,多项核心数据刷新纪录,中国智造产品在摩托车、智能穿戴、无人机等领域广受全球采购商青睐,海外订单和合作意向踊跃。
沪深两市成交额2.32万亿,较上一个交易日放量1888亿。