
{{aisd}}
AI生成 免责声明
6月15日,据辽宁省纪委监委消息:日前,经辽宁省委批准,辽宁省纪委监委对华晨汽车集团控股有限公司原党委书记、董事长祁玉民涉嫌严重违纪违法问题进行了立案审查调查。
经查,祁玉民丧失理想信念,无视党纪国法,对抗组织审查;违反中央八项规定精神,收受可能影响公正执行公务的礼金,违规配备、使用公务用车;违反议事规则违规决定重大问题,隐瞒不报个人有关事项,在组织函询时不如实说明问题,利用职权在干部选拔任用方面为他人谋取利益;借用管理和服务对象钱款,违规经商办企业,违规兼职取酬,搞钱色交易;对华晨集团虚报利润问题失职失责;对配偶、子女失管失教;利用职务上的便利为他人谋取利益并索取、非法收受财物;利用职务上的便利挪用公款给他人进行营利活动;滥用职权造成国有公司严重损失,致使国家利益遭受重大损失。
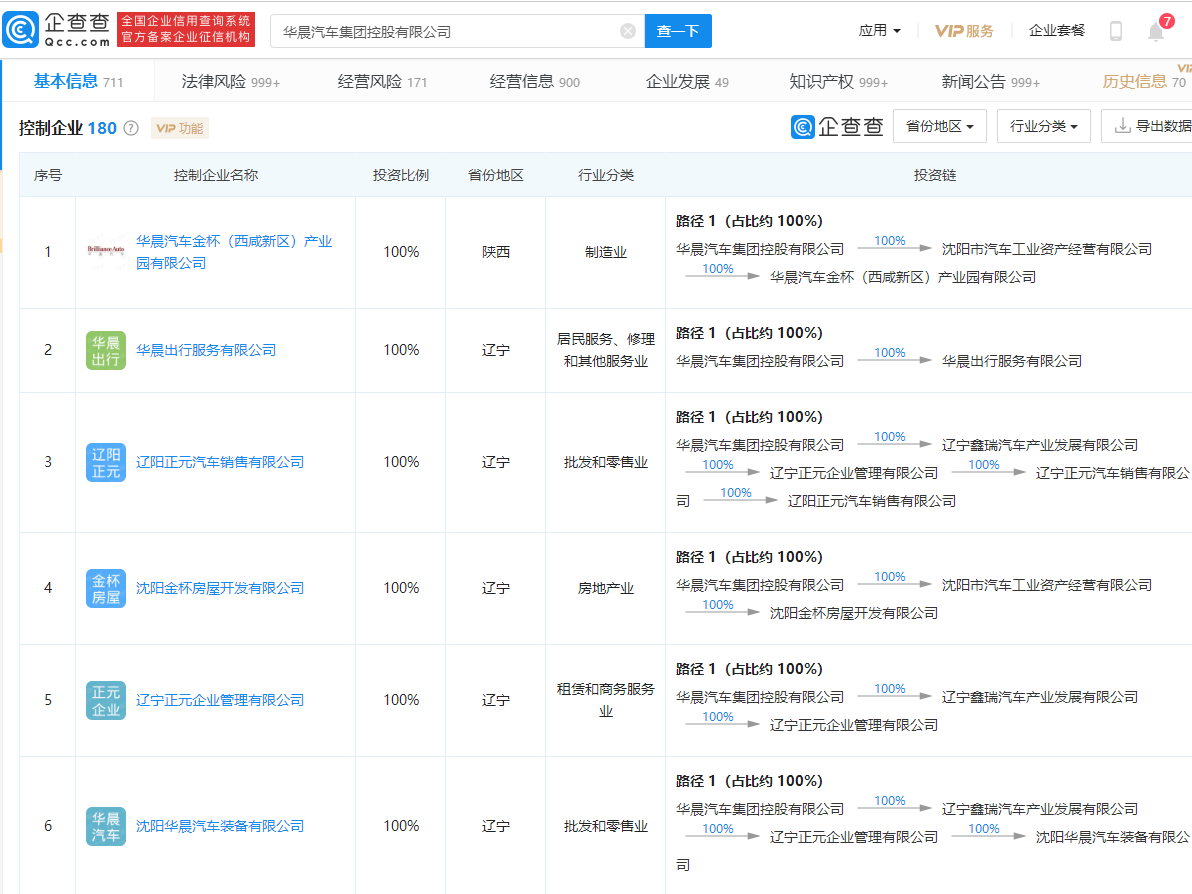
企查查显示,华晨汽车是隶属于辽宁省国资委的重点国有企业,注册成立于2002年,注册资本8亿元人民币,辽宁省国资委和辽宁省社保基金理事会分别持股80%和20%,旗下有华晨中国(01114.HK)、申华控股(600653)、金杯汽车(600609)和新晨动力(01148.HK)等4家上市公司,华晨汽车还控制多家公司。


企查查显示,华晨汽车已被申请破产重整。4月20日,华晨汽车等12家企业实质合并重整案第一次债权人会议通过全国企业破产重整案件信息网召开。

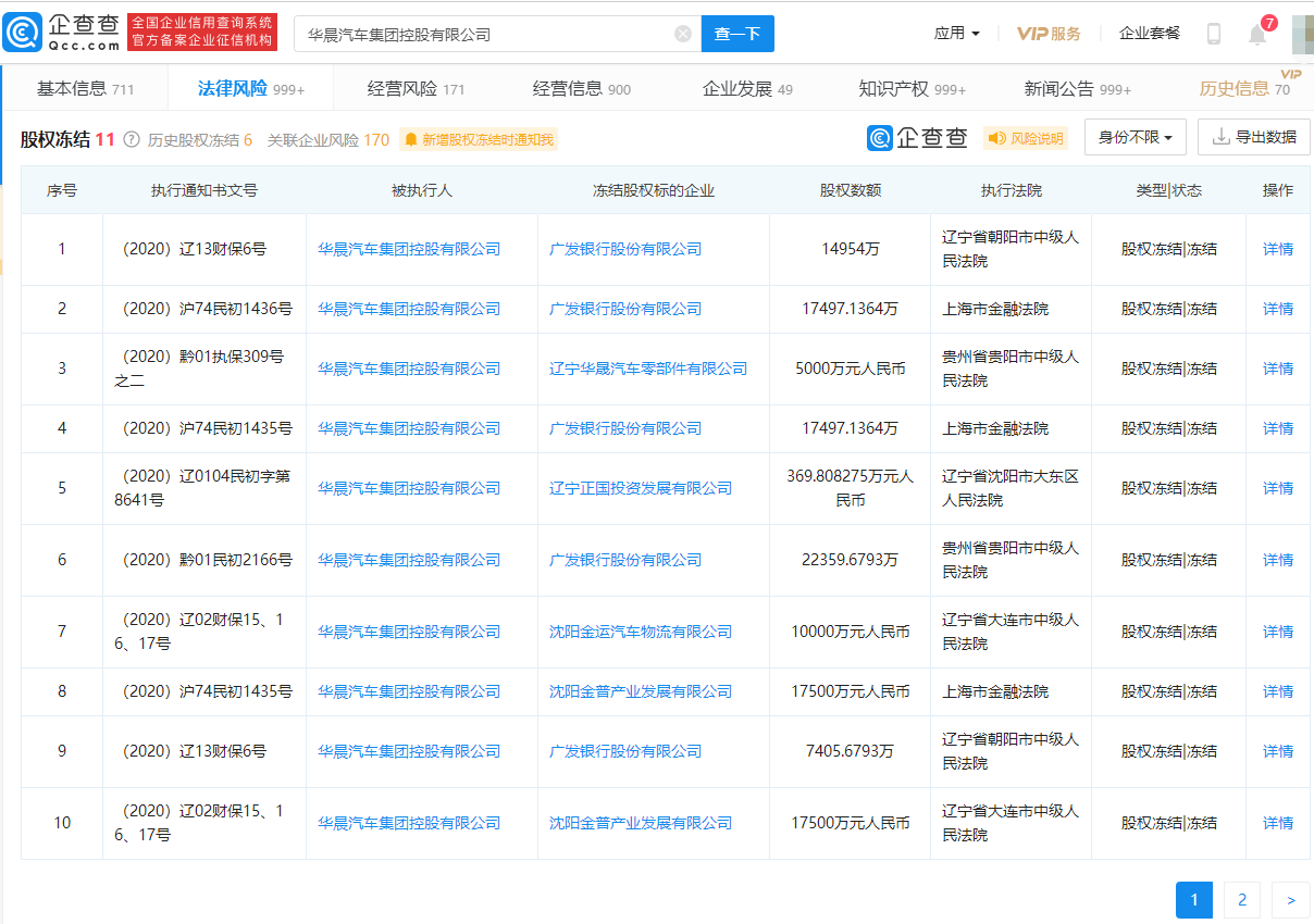
此外,华晨汽车还有多条股权冻结信息。

2025年法院通过破产审判化解债务约4万亿
以目前披露的公开信息来看,众泰汽车尚不具备复工复产的条件。
去年日本服务业破产企业数量创2000年以来之最。
这是一个时代的更迭,iRobot由于技术方向误判和贸易关税影响而陷入亏损泥潭,而中国扫地机器人产业链在压力中茁壮成长。
昔日全球扫地机器人行业龙头iRobot申请破产,将由中国代工企业杉川收购并退市,这是一个时代落幕的缩影。