
{{aisd}}
AI生成 免责声明
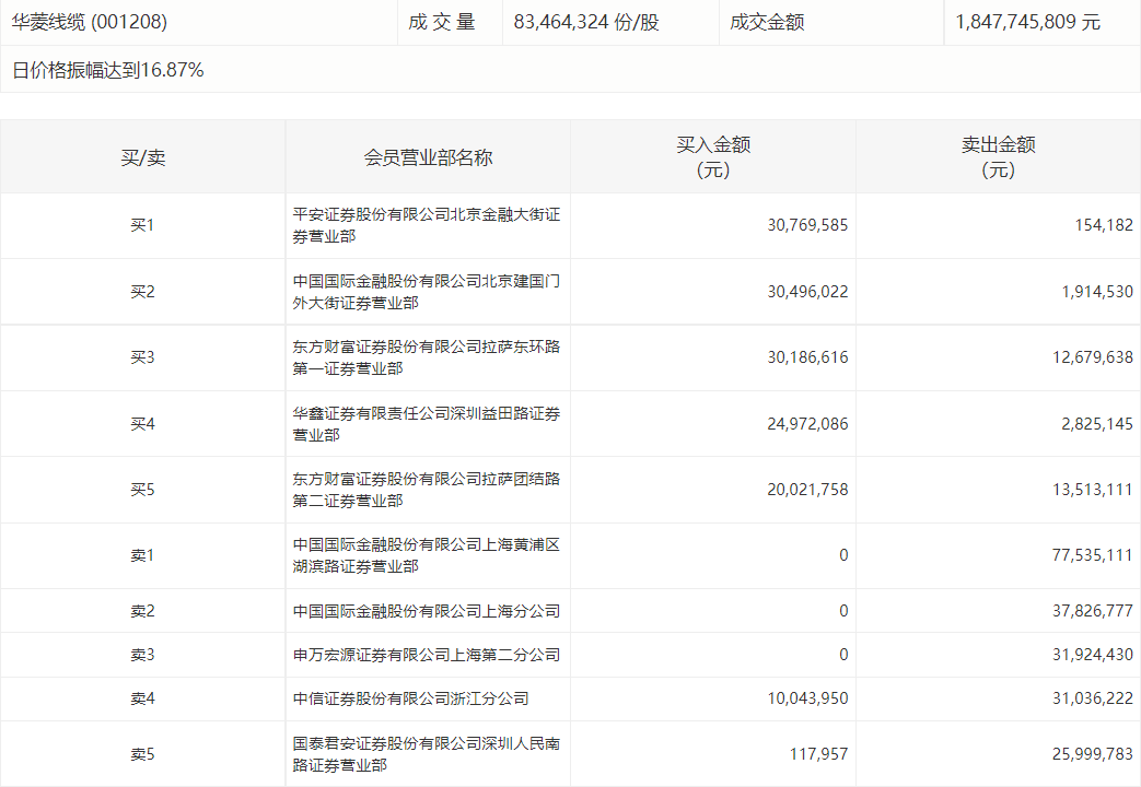
8月18日,华菱线缆再度涨停,走出10日9板行情,截至今日收盘,该股报23.97元/股,全天换手率达到62.47%,成交额达18.48亿元,最新市值为128.1亿元。

盘后数据显示,平安证券北京金融大街证券营业部、中金公司北京建国门外大街证券营业部、东方财富拉萨东环路第一证券营业部均买入超3000万元,中金公司上海黄浦区湖滨路证券营业部卖出7754万元。

8月16日晚,华菱线缆曾因连续涨停收到深交所下发的关注函。深交所要求公司说明,近期股价波动与公司基本面情况是否相符,是否与行业变动趋势一致;公司是否存在应披露而未披露的重大信息,同时说明控股股东及实际控制人是否计划对公司进行股权转让、资产重组以及其他对公司有重大影响的事项;核查公司董事、监事、高级管理人员及其直系亲属是否存在买卖华菱线缆股票的行为,是否存在涉嫌内幕交易的情形。
此外,对于华菱线缆在新能源车和储能领域是否有相关发展规划?公司回应第一财经记者称,公司有新能源相关电缆产品,暂无储能业务布局。储能更多是电池这一块研究,公司本身只是做电缆。
搭上新能源、储能概念和专精特新“小巨人”概念的华菱线缆暴涨的背后,究竟是否有足够的基本面支撑?
对此,业内人士表示,华菱线缆目前的上涨主要是借助了一些热点利好,但就其本身而言,其流通市值较低,更适合于短线游资的操作。针对后市来看,在连续上涨后,未来股价震荡会加剧,不介意投资者追涨,股价进一步上涨仍需要有基本面的支持。
| {{item.suffixTags}} | {{ item.stockName }} {{ item.code }} | {{ item.close }} | {{ item.upDownPer }} | {{ item.upDown }} |