
{{aisd}}
AI生成 免责声明
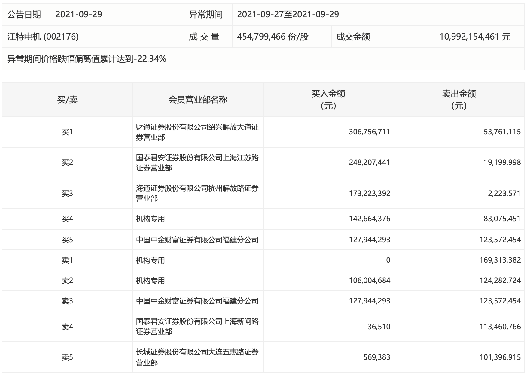
机构加速出逃锂矿板块。盘后数据显示,近三个交易日,两机构累计卖出盛新锂能3.9亿元,两机构卖出融捷股份2.45亿元,两机构卖出江特电机2.94亿元。中游六氟磷酸锂龙头永太科技亦未能幸免,今日该股遭两机构卖出1.05亿元。




盘面上,9月29日锂矿板块继续下挫,截至收盘,融捷股份、永太科技、鹏欣资源、云天化等多股跌停,盛新锂能跌逾8%,江特电机跌超7%。
华创证券认为,新能源汽车带动需求高速增长加剧供给缺口,锂价上涨趋势不改。长期来看,未来中国新能源汽车销量高速增长较为确定,锂镍钴铜箔等需求高成长可期,锂矿受资源限制或持续出现缺口。涨价逻辑将继续驱动板块上行,锂资源具备稀缺属性和量价双逻辑。
中信建投表示,2020年三季度以来锂产品出现结构性短缺,对应碳酸锂和氢氧化锂价格先后出现上涨,结构性短缺预计持续至2021年底(主要是氢氧化锂);长期看,2022年以后锂资源产能投放不会使锂价大幅度下跌,一是需求持续景气,锂价以需求为锚,需求弹性和超预期的可能性较大;二是锂电材料供给区域化趋势导致锂成本上升,锂价以成本为盾。