首页 > 新闻 > 资讯

分享到微信

打开微信,点击底部的“发现”,
使用“扫一扫”即可将网页分享至朋友圈。

陕西金叶今日涨停 游资买卖活跃

第一财经 2021-12-02 16:41:55

责编:陆一丹

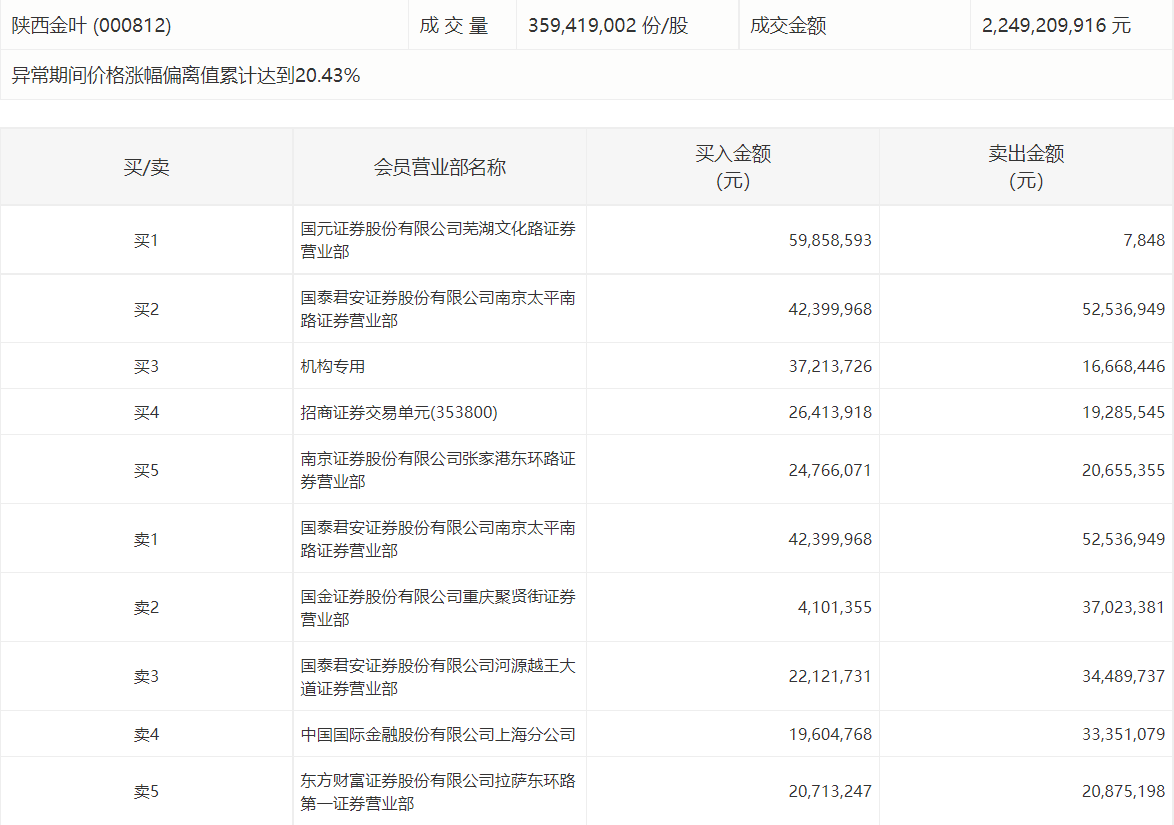
陕西金叶今日涨停,成交额15.16亿元。盘后数据显示,国元证券芜湖文化路证券营业部买入5986万元,1家机构专用席位净买入1500.07万元。

举报
一财最热
点击关闭