
{{aisd}}
AI生成 免责声明
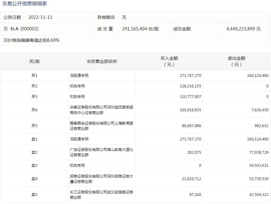
万科A今日涨停,报收15.76元,全天成交44.49亿元。

盘后龙虎榜数据显示,深股通买入2.72亿元并卖出1.6亿元,2家机构净买入2.39亿元,1家机构净卖出5950.36万元。

万科A三季报显示,公司三季度实现营业收入1307.57亿元,同比增长25.28%;净利润48.28亿元,同比下降14.43%。
| {{item.suffixTags}} | {{ item.stockName }} {{ item.code }} | {{ item.close }} | {{ item.upDownPer }} | {{ item.upDown }} |