
{{aisd}}
AI生成 免责声明
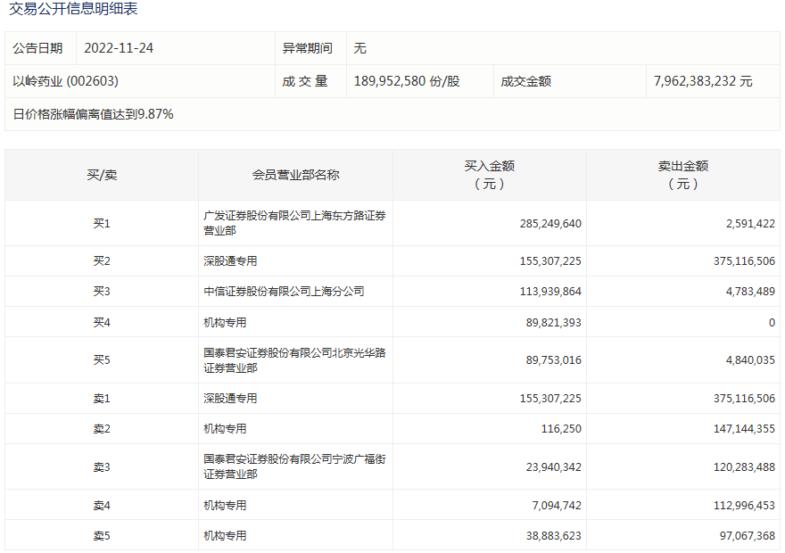
11月24日,以岭药业涨停,报43.99元,全天成交额为79.62亿元。

盘后龙虎榜数据显示,深股通买入1.55亿元并卖出3.75亿元,一机构净买入8982万元,三机构合计净卖出3.11亿元。

盘面上,医药股今日集体走强,以岭药业、康缘药业、九安医疗等涨停。
财务方面,以岭药业第三季度实现营业收入23.80亿元,同比增长7.41%;实现归属于上市公司股东的净利润3.66亿元,同比增长40.92%;扣非归母净利润为3.65亿元,同比增长49.32%。前三季度,以岭药业研发费用为5.52亿元。
| {{item.suffixTags}} | {{ item.stockName }} {{ item.code }} | {{ item.close }} | {{ item.upDownPer }} | {{ item.upDown }} |