
{{aisd}}
AI生成 免责声明
据证券时报,近日出炉的企业年金基金业务数据显示,第三季度加权平均收益率为1.56%,好于一季度和二季度。前三季度累计收益1153.89亿元,同比大幅增长187.5%;加权平均收益率3.56%,较去年同期高出2.11个百分点。数据还显示,截至三季度末,企业年金积累基金规模达3.52万亿元,较2023年末增逾10%。
形成具有上海特色的商业养老金融体系。
A股融资保证金比例再提高;新能源车电池回收新规发布。
进一步明确了参加企业职工基本养老保险的用人单位都可以建立企业年金,大幅简化了企业年金的建立程序并规定了灵活的缴费比例。
航天发展今日跌10.00% 陈小群席位净卖出2.78亿元
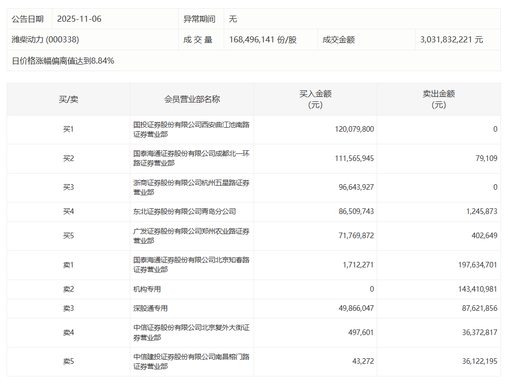
潍柴动力今日涨停,有1家机构专用席位净卖出1.43亿元