
{{aisd}}
AI生成 免责声明
襄阳轴承今日涨停,成交额16.55亿元,换手率21.78%,盘后龙虎榜数据显示,1家机构专用席位净买入2909.68万元,有1家机构专用席位净卖出2645.11万元。
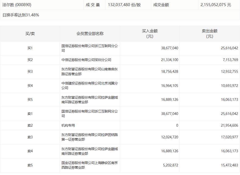
法尔胜今日跌9.88%,有1家机构专用席位净卖出2195.46万元
广联航空今日20cm涨停,3家机构专用席位净买入1.28亿元
通源石油今日20%涨停,4家机构专用席位净买入1.05亿元
春晖智控今日20%涨停,5家机构专用席位净买入1.63亿元
海联讯今日20cm涨停,2家机构专用席位净买入1.33亿元