首页 > 新闻 > 资讯

分享到微信

打开微信,点击底部的“发现”,
使用“扫一扫”即可将网页分享至朋友圈。

连续异动个股一览

第一财经 2025-08-29 09:00:09

责编:高莉珊

连续异动个股一览

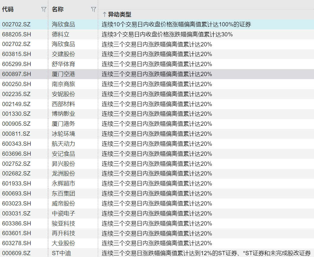
截至8月28日,近日A股有24只个股连续异动2个交易日及以上。

天孚通信、隆扬电子、豪恩汽电等连续3个交易日内收盘价格涨跌幅偏离值累计达30%。

瑞芯微、建业股份、天普股份等连续三个交易日内涨跌幅偏离值累计达20%。

*ST奥维、ST华扬、*ST国华等连续三个交易日涨跌幅偏离值累计达到12%。

举报
第一财经广告合作,请点击这里
此内容为第一财经原创,著作权归第一财经所有。未经第一财经书面授权,不得以任何方式加以使用,包括转载、摘编、复制或建立镜像。第一财经保留追究侵权者法律责任的权利。
如需获得授权请联系第一财经版权部:banquan@yicai.com
一财最热
点击关闭