
{{aisd}}
AI生成 免责声明
中恒电气今日涨7.42%,成交额32.66亿元,换手率19.15%,盘后龙虎榜数据显示,深股通专用席位买入2.57亿元并卖出2.56亿元,1家机构专用席位净买入1786.23万元,有3家机构专用席位净卖出1.62亿元。
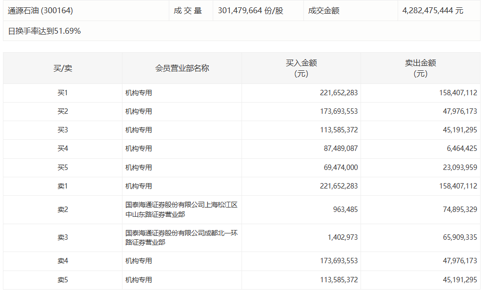
通源石油今日涨14.51%,5家机构专用席位净买入3.85亿元
翔鹭钨业今日涨4.60%,有5家机构专用席位净卖出3.40亿元
通源石油今日跌3.8%,有4家机构专用席位净卖出1.68亿元
三变科技今日跌0.43%,有3家机构专用席位净卖出1.13亿元
中恒电气今日跌停,有3家机构专用席位净卖出1.11亿元