
{{aisd}}
AI生成 免责声明
南向资金净买入54.79亿港元,小鹏汽车-W、南方恒生科技、华虹半导体分别获净买入12.14亿港元、10.52亿港元、9.61亿港元;潍柴动力净卖出额居首,金额为5.48亿港元。
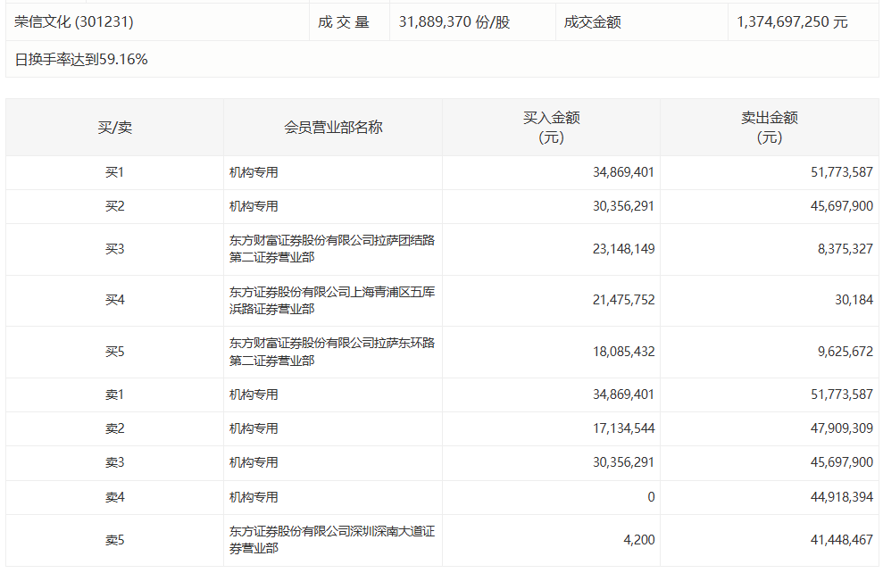
荣信文化今日跌14.19%,有4家机构专用席位净卖出1.08亿元
中文在线今日20cm涨停,有2家机构专用席位净卖出2.37亿元
通源石油今日跌3.8%,有4家机构专用席位净卖出1.68亿元
神农种业今日跌1.6%,有5家机构专用席位净卖出2.26亿元
中金岭南今日跌停,有2家机构专用席位净卖出1亿元