
{{aisd}}
AI生成 免责声明
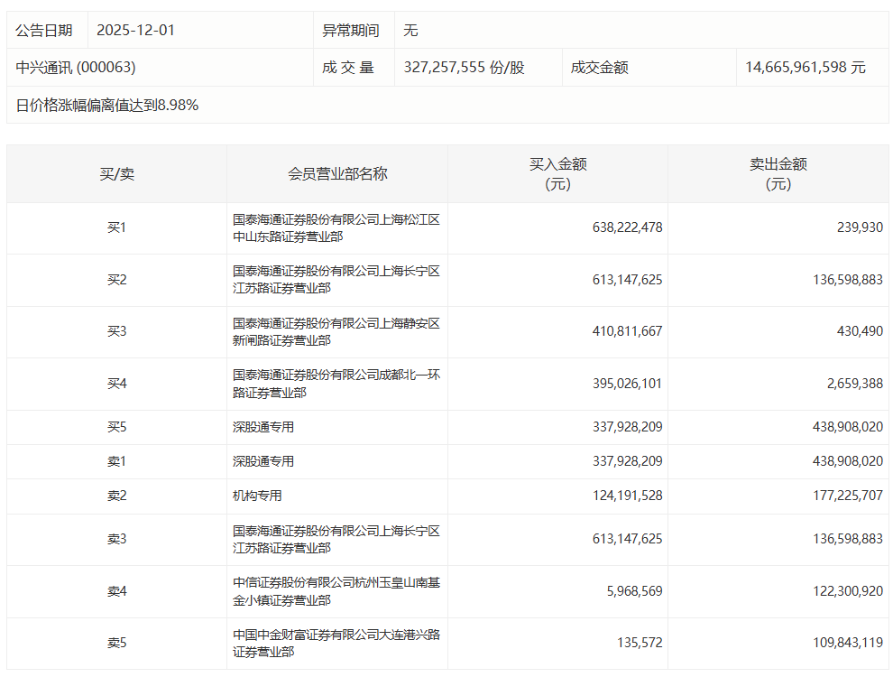
中兴通讯今日涨停,成交额146.66亿元,换手率8.13%。盘后龙虎榜数据显示,国泰海通上海松江区中山东路证券营业部净买入6.38亿元,国泰海通上海长宁区江苏路证券营业部净买入4.77亿元,深股通专用席位买入3.38亿元并卖出4.39亿元,有1家机构专用席位净卖出5303.42万元。

中文在线今日涨5.83% 深股通净买入3.49亿元
海格通信今日涨停,3家机构专用席位净买入1.25亿元
蓝色光标今日20%涨停,深股通专用席位买入6.71亿元并卖出5.15亿元
三花智控今日涨停,深股通专用席位买入5.54亿元并卖出2.35亿元
天际股份今日涨停 有4家机构专用席位净卖出1.5亿元