首页 > 新闻 > 资讯

分享到微信

打开微信,点击底部的“发现”,
使用“扫一扫”即可将网页分享至朋友圈。

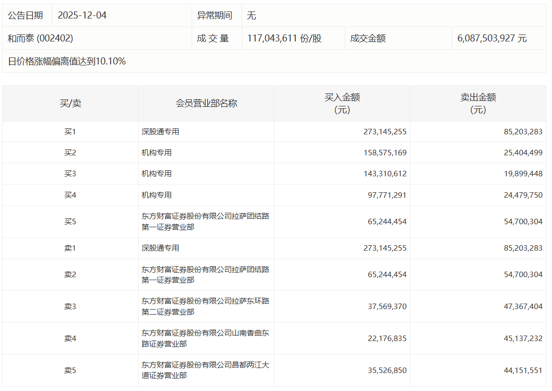
和而泰今日涨停,3家机构专用席位净买入3.30亿元

第一财经 2025-12-04 16:26:32 听新闻

责编:高明妍

和而泰今日涨停,3家机构专用席位净买入3.30亿元

和而泰今日涨停,成交额60.88亿元,换手率14.52%。盘后龙虎榜数据显示,深股通专用席位买入2.73亿元并卖出8520.33万元,3家机构专用席位净买入3.30亿元。

举报
第一财经广告合作,请点击这里
此内容为第一财经原创,著作权归第一财经所有。未经第一财经书面授权,不得以任何方式加以使用,包括转载、摘编、复制或建立镜像。第一财经保留追究侵权者法律责任的权利。
如需获得授权请联系第一财经版权部:banquan@yicai.com
一财最热
点击关闭