
{{aisd}}
AI生成 免责声明
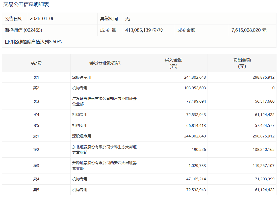
海格通信今日涨停,成交额76.16亿元,换手率16.67%。盘后龙虎榜数据显示,深股通专用席位买入2.44亿元并卖出2.99亿元,3家机构专用席位净买入1.25亿元,有1家机构专用席位净卖出2403.82万元。

美好医疗今日20%涨停,有4家机构专用席位净卖出3.71亿元
金风科技今日涨停,有2家机构专用席位净卖出4.06亿元
蓝色光标今日20%涨停,深股通专用席位买入6.71亿元并卖出5.15亿元
天际股份今日涨停,有2家机构专用席位净卖出1.20亿元
海格通信今日涨停,有2家机构专用席位净卖出1.70亿元