
{{aisd}}
AI生成 免责声明
罗博特科今日20cm涨停,成交额71.69亿元,换手率11.50%,盘后龙虎榜数据显示,深股通专用席位买入7.75亿元并卖出2.03亿元,2家机构专用席位净买入2.04亿元。作手新一席位净买入2.11亿元。
德明利今日涨停,方正证券重庆金开大道证券营业部净买入5.22亿元
通源石油今日20%涨停,4家机构专用席位净买入1.05亿元
春晖智控今日20%涨停,5家机构专用席位净买入1.63亿元
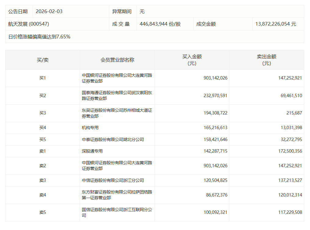
航天发展今日涨停,华泰证券岳阳岳阳大道证券营业部净买入3.22亿元
海联讯今日20cm涨停,2家机构专用席位净买入1.33亿元