
{{aisd}}
AI生成 免责声明
恩捷股份今日涨停,成交额29.46亿元,换手率6.47%,盘后龙虎榜数据显示,深股通专用席位买入4.55亿元并卖出1.31亿元,5家机构专用席位净买入1.80亿元。
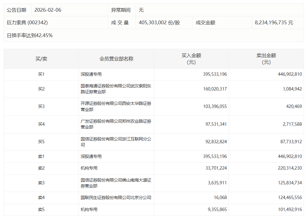
巨力索具今日涨7.94%,有2家机构专用席位净卖出2.79亿元
巨力索具今日涨7.21%,2家机构专用席位净买入2.48亿元
利欧股份今日跌9.04%,有1家机构专用席位净卖出2.62亿元
钧达股份今日涨停,有3家机构专用席位净卖出2.09亿元
铜陵有色今日涨5.38%,3家机构专用席位净买入7.20亿元