打开微信,点击底部的“发现”,使用“扫一扫”即可将网页分享至朋友圈。
第一财经 2026-04-23 09:02:28
责编:高明妍
{{aisd}}
AI生成 免责声明
Wind数据显示,4月23日,*ST中迪、*ST帅电复牌。
A股停牌提示:15股今日停牌
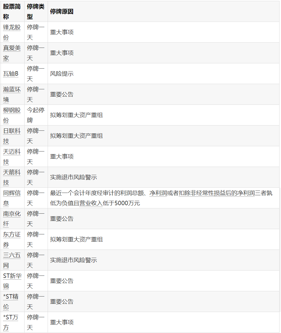
A股停牌提示:12股今日停牌
A股复牌提示:2股今日复牌
A股停牌提示:11股今日停牌
A股停牌提示:9股今日停牌