打开微信,点击底部的“发现”,使用“扫一扫”即可将网页分享至朋友圈。
第一财经 2026-04-28 16:29:39
责编:唐嫣蓓
{{aisd}}
AI生成 免责声明
禾盛新材今日跌停,成交额16.40亿元,换手率8.17%,盘后龙虎榜数据显示,深股通专用席位买入9076.84万元并卖出9197.47万元,3家机构专用席位净买入1.17亿元。
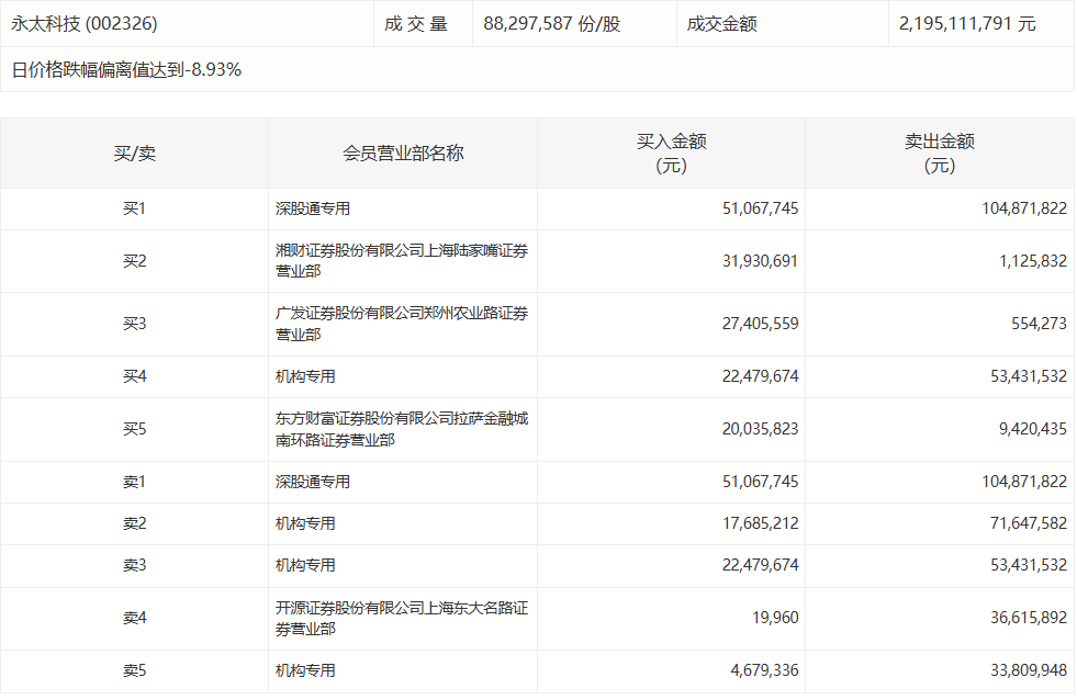
永太科技今日跌停,有3家机构专用席位净卖出1.14亿元
三角防务今日跌15.31%,有3家机构专用席位净卖出1.16亿元
深圳华强今日涨停,2家机构专用席位净买入1.74亿元
圣阳股份今日涨停,4家机构专用席位净买入1.32亿元
巨力索具今日涨停,2家机构专用席位净买入1.39亿元