
{{aisd}}
AI生成 免责声明
盘后数据显示,7月3日龙虎榜中,共28只个股出现了机构的身影,有12只股票呈现机构净买入,16只个股呈现机构净卖出。
当天机构净买入前三的股票分别是北京文化、中珠医疗、可立克,净买入金额分别为3597万元、2401万元、1356万元。
当天机构净卖出前三的股票分别是南京新百、中兴通讯、会畅通讯,净流出金额分别是8785万元、8491万元、8469万元。
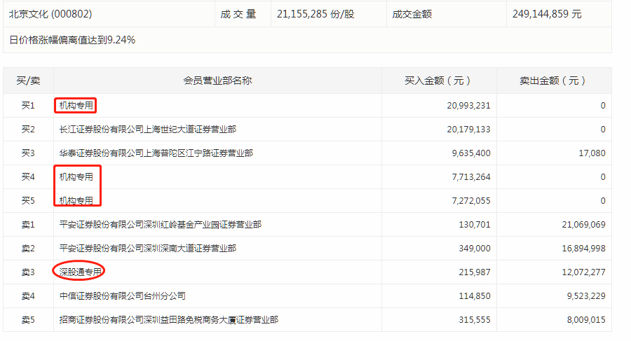
详见下表:

从详细数据看,机构今日买入最多的北京文化有3家机构买入,净买入金额4279万元。同时,深股通席位净卖出约1200万元。

盘面上,公司股价今日高开高走继续反弹,午后直线拉升封死涨停直至收盘。
消息面,北京文化6月27日晚间公告,接公司大股东中国华力控股集团有限公司通知,华力控股或其实际控制人计划在未来6个月内增持公司股份。
在卖出排行榜上,备受关注的中兴通讯位居第二,数据显示有2家机构卖出,净卖出金额8491万元。

盘面上,公司股价早盘走弱跌逾1%,午后突然发力开始拉升,临近收盘封死涨停,全天成交金额高达37亿元。