
{{aisd}}
AI生成 免责声明
盘后数据显示,7月17日龙虎榜中,共9只个股出现了机构的身影,有4只股票呈现机构净买入,5只个股呈现机构净卖出。
当天机构净买入前三的股票分别是飞荣达、领益智造、明德生物,净买入金额分别为8432万元、85万元、43万元。
当天机构净卖出前三的股票分别是当升科技、大富科技、渤海金控,净流出金额分别是7852万元、2338万元、1391万元。
详见下表:

从详细数据看,机构今日买入最多的飞荣达有4家机构买入,净买入金额8432万元。

盘面上,公司股价延续昨日涨停态势,今日继续涨停,股价距历史新高仅一步之遥。
消息面,飞荣达披露半年度业绩预告,公司预计2018年上半年盈利6,100万元-7,100万元,比去年同期增长69.05%-96.76%。
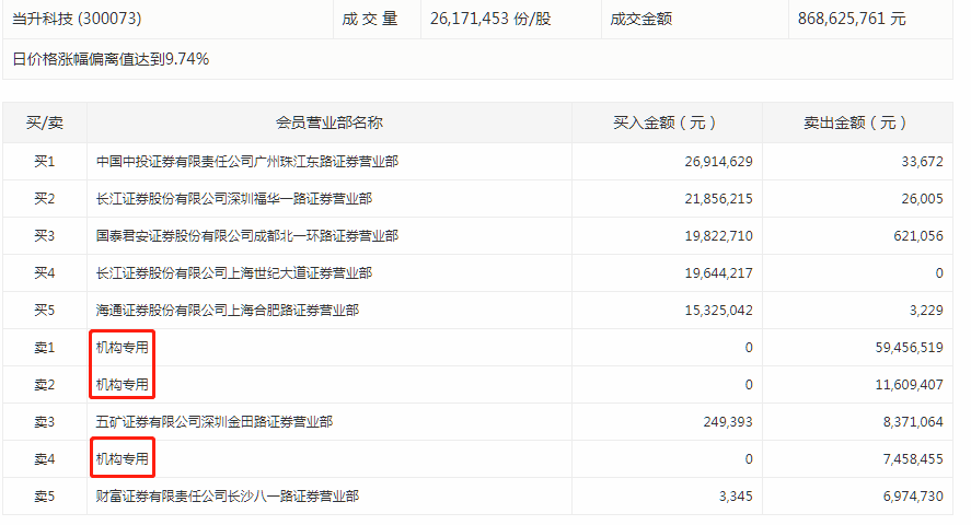
在卖出排行榜上,机构卖出最多的当升科技有3家机构卖出,净卖出金额7852万元。

盘面上,公司股价今日小幅高开,然后一路震荡攀升,尾盘突然拉升封死涨停。
消息面,锂电池概念股今日集体爆发,中汽协发布的6月份汽车产销数据显示:1-6月,新能源汽车累计产销分别完成41.3万辆和41.2万辆,同比去年分别增长94.9%和111.5%。