
{{aisd}}
AI生成 免责声明
3月13日,农业股大面积跌停,养猪概念股未能延续强势,温氏股份、新希望、正邦科技、金新农等跌停。盘后数据显示,机构席位卖出为主。
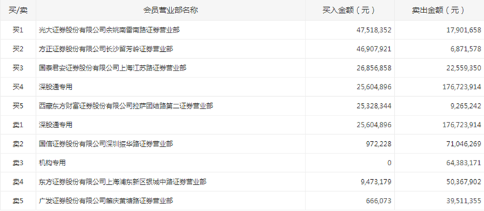
正邦科技跌停,深股通卖出1.76亿元并买入2560万元,一机构席位卖出6438万元。

天邦股份跌停,一机构席位卖出5339万元。

圣农发展跌停,深股通买入6719万元并卖出5814万元,四机构席位卖出1.45亿元。

民和股份跌停,三机构席位卖出6411万元。12日晚间,公司发布股票交易异常波动公告称,公司股票连续三个交易日收盘价格涨幅偏离值累计超过20%,属于股票交易异常波动情况。昨日,民和股份涨停,年初至今已累计涨超200%。

此外,三机构席位卖出华英农业7284万元。
今日,创业板指最大权重股温氏股份放量跌停。昨日,温氏股份涨停,股价逼近历史高点,年内涨幅已高达73%。
而在此之前,猪肉概念股股东的减持、放弃增持等事件已经敲响了炒作过热的警钟。
12日晚间,温氏股份公告称,公司部分监事、高级管理人员拟合计减持不超0.144%股份。
新五丰昨日晚间公告称,股东湖南高新创投财富管理有限公司拟减持公司股份数量不超过3916.05万股,占新五丰总股数的6%,而在前一天,它抛出的是清仓式减持计划。
雏鹰农牧则抛出了放弃增持的计划。在去年4月,公司披露了一份“不低于5亿元”的增持计划,10月又准备延期实施,3月6日,公司大股东、董监高等14名增持人集体放鸽子,实际增持仅3863.83万元,承诺完成率仅为7.7%。
春节以来,猪肉价格不断向好,猪肉概念股也持续拉升,走出一波小牛市。今日高位巨量重挫,猪价、股价持续攀高的走势能否持续?
华创证券认为,猪价基本见底,中线看,2018年11月至2019年1月能繁母猪存栏量环比大幅回落,2019年2月能繁母猪存栏量有望继续大幅下降,2018年11月以来母猪带仔淘汰现象严重,这将影响7个月之后生猪供应,预计2019年5-6月开始猪价或将呈回升趋势,生猪价格有望迎来持续大幅上涨。
民生证券认为,能繁母猪/生猪存栏/猪肉价格协同下行加速猪周期到来。猪肉价格预测体系中,能繁母猪数 量同比增速是生猪存栏量同比增速的先行指标,生猪存栏是猪肉价格的先行指标,但滞后期相对 较短,可视为同步指标。2019 年 1 月,能繁母猪数量同比增速-12.48%,达到近 43 个月最低点; 生猪存栏量-13.05%,创2010年1月有同比数据以来最低;两项先行指标双降,猪价拐点将加速到来。
中泰证券陈奇和潘振亚分析指出,虽然目前市场猪肉消费还未处于旺季,但是上周全国生猪价格却出现了大幅度的普涨,超市场预期,同时也带动本周生猪养殖股股价大幅上行。所以近日生猪价格的快速上涨,基本标志着本轮周期已正式迈入价格反转阶段,“周期反转确立”已是市场一致预期。
中泰证券认为,当前生猪养殖股的大涨,不仅仅反映的是近日生猪价格上涨超预期,更多代表的是生猪养殖股投资内在短逻辑的变化:“周期反转确立”已是市场一致预期,但是由于生猪价格在消费淡季出现了超预期的快速上涨,且在价格上行的同时伴随着非洲猪瘟持续去产能,生猪养殖股投资的内在短逻辑正逐步由“周期反转确立”向“周期反转高度超往轮”与“周期景气高点持续时间超往轮”转向,进一步为各大上市猪企打开市值空间。所以本质上来说,只要猪价在3-5月淡季出现了超预期的上涨,就可能会带来市场内在短逻辑的转向(周期反转高度超往轮,景气高点持续时间超往轮),所以当前依旧是投资生猪养殖股的最佳窗口期。