
{{aisd}}
AI生成 免责声明
稀土永磁板块今日大涨,五矿稀土涨停,收报17.38元。该股自5月7日以来股价一路上扬,从10.44元飙升至17.38元,累计涨近70%。

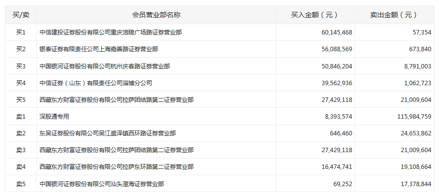
盘后数据显示,游资积极买入,深股通卖出为主。中信建投重庆涪陵广场路买入五矿稀土6014万元,银泰证券有限责任公司上海嘉善路证券营业部买入5608万元,深股通净卖出五矿稀土1.08亿元。

今日,稀土永磁板块延续强势,截至发稿,金力永磁、三祥新材、有研新材等多股涨停,其中,金力永磁录得10天8涨停,港股中国稀土大涨逾23%。
华泰证券指出,本月南方稀土继续上调中重稀土挂牌价,17-18年国内中重稀土因环保致部分矿山关停或资源品位趋于枯竭,缅甸进口中重稀土矿成为重要补充;但海关数据显示18年年底至今缅甸进口明显下滑。不同以往收储行情,此次稀土涨价是由缅甸进口减少导致中重稀土供需趋紧;建议关注稀土企业广晟有色、五矿稀土、盛和资源、厦门钨业。